Металлические опоры ЛЭП Стальные порталы ору Прожекторные мачты и молниеотводы Ростверки и металлические балки Антенные опоры и башни релейной связи Металлоконструкции различного назначения
35 кВ 110 кВ 220 кВ 330кВ 400 кВ 500 кВ 750 кВ
Анкерно-угловые Промежуточные

Промежуточные : Промежуточные опоры ЛЭП напряжением в 35 кВ являются связующим звеном между высоковольтными магистралями и значением, необходимым для обычных потребителей в Алма-ате

Анкерно-угловые : Анкерные опоры напряжением 35 кВ предназначены для натяжения и закрепления линий. Они имеют более жёсткую и сложную конструкцию

Марка опоры Масса без окраски и цинкового покрытия, кг Масса опоры с горячим цинковым покрытием, кг
1П35-2 2007 2080
1П35-2-3.5 1713 1775
1П35-2Т 2114 2190
1П35-2Т-3.5 1820 1886
1У35-2 3605 3739
1У35-2+10 6670 6920
1У35-2+5 5205 5399
1У35-2Т 3763 3903
1У35-2Т+10 6833 7089
1У35-2Т+5
П35-1 1499 1558
П35-1В 1563 1623
П35-1ВПГ 1758 1826
П35-1ВТ 1663 1727
П35-1ВУ 1589 1651
П35-1Н 1490
П35-1ПГ 1685 1685
П35-1Т 1603 1666
П35-1У 1527 1587
П35-2 1861 1934
П35-2В 1920 1995
П35-2ВПГ 2115 2198
П35-2ВТ 2020 2099
П35-2ВУ 1972 2049
П35-2Н 1836
П35-2ПГ 2041 2127
П35-2Т 1965 2042
П35-2У 1890 1915
ПБ35-2
ПС35-2 1670 1735
ПС35-2В 1729 1796
ПС35-2Н 1660
ПС35-4 2104 2183
ПС35-4В 2083 2165
ПС35-4ВПГ 2330 2421
ПС35-4ВТ 2201 2287
ПС35-4Н 2097
ПС35-4ПГ 2327 2416
ПС35-4Т 2223 2310
У35-1 2964 3080
У35-1+5 4549 4727
У35-1Т 3140 3283
У35-1Т+5 4725 4900
У35-2 4831 5020
У35-2+5 6591 6850
У35-2Т 5004 5200
У35-2Т+5 6769 7033
У35-3 1635 1700
У35-3+5 2295 2385
У35-3+9 2813 2920
У35-4 2799 2906
У35-4+5 3834 3986
У35-4+9 5067 5266
УАП35-1 2985 3267
УАП35-2 2537 2788
УАП35-3 2116 2341
УАП35-4 2870 3150
УАП35-5 2429 2571
УАП35-6 2009 2225

База опоры, мм:

Высота траверсы, м:

Масса без окраски и цинкового покрытия, кг: 2007

Масса опоры с горячим цинковым покрытием, кг: 2080

База опоры, мм:

Высота траверсы, м:

Масса без окраски и цинкового покрытия, кг: 1713

Масса опоры с горячим цинковым покрытием, кг: 1775

База опоры, мм:

Высота траверсы, м:

Масса без окраски и цинкового покрытия, кг: 2114

Масса опоры с горячим цинковым покрытием, кг: 2190

База опоры, мм:

Высота траверсы, м:

Масса без окраски и цинкового покрытия, кг: 1820

Масса опоры с горячим цинковым покрытием, кг: 1886

База опоры, мм:

Высота траверсы, м:

Масса без окраски и цинкового покрытия, кг: 3605

Масса опоры с горячим цинковым покрытием, кг: 3739

База опоры, мм:

Высота траверсы, м:

Масса без окраски и цинкового покрытия, кг: 6670

Масса опоры с горячим цинковым покрытием, кг: 6920

База опоры, мм:

Высота траверсы, м:

Масса без окраски и цинкового покрытия, кг: 5205

Масса опоры с горячим цинковым покрытием, кг: 5399

База опоры, мм:

Высота траверсы, м:

Масса без окраски и цинкового покрытия, кг: 3763

Масса опоры с горячим цинковым покрытием, кг: 3903

База опоры, мм:

Высота траверсы, м:

Масса без окраски и цинкового покрытия, кг: 6833

Масса опоры с горячим цинковым покрытием, кг: 7089

База опоры, мм:

Высота траверсы, м:

Масса без окраски и цинкового покрытия, кг:

Масса опоры с горячим цинковым покрытием, кг:

База опоры, мм:

Высота траверсы, м:

Масса без окраски и цинкового покрытия, кг: 1499

Масса опоры с горячим цинковым покрытием, кг: 1558

База опоры, мм:

Высота траверсы, м:

Масса без окраски и цинкового покрытия, кг: 1563

Масса опоры с горячим цинковым покрытием, кг: 1623

База опоры, мм:

Высота траверсы, м:

Масса без окраски и цинкового покрытия, кг: 1758

Масса опоры с горячим цинковым покрытием, кг: 1826

База опоры, мм:

Высота траверсы, м:

Масса без окраски и цинкового покрытия, кг: 1663

Масса опоры с горячим цинковым покрытием, кг: 1727

База опоры, мм:

Высота траверсы, м:

Масса без окраски и цинкового покрытия, кг: 1589

Масса опоры с горячим цинковым покрытием, кг: 1651

База опоры, мм:

Высота траверсы, м:

Масса без окраски и цинкового покрытия, кг: 1490

Масса опоры с горячим цинковым покрытием, кг:

База опоры, мм:

Высота траверсы, м:

Масса без окраски и цинкового покрытия, кг: 1685

Масса опоры с горячим цинковым покрытием, кг: 1685

База опоры, мм:

Высота траверсы, м:

Масса без окраски и цинкового покрытия, кг: 1603

Масса опоры с горячим цинковым покрытием, кг: 1666

База опоры, мм:

Высота траверсы, м:

Масса без окраски и цинкового покрытия, кг: 1527

Масса опоры с горячим цинковым покрытием, кг: 1587

База опоры, мм:

Высота траверсы, м:

Масса без окраски и цинкового покрытия, кг: 1861

Масса опоры с горячим цинковым покрытием, кг: 1934

База опоры, мм:

Высота траверсы, м:

Масса без окраски и цинкового покрытия, кг: 1920

Масса опоры с горячим цинковым покрытием, кг: 1995

База опоры, мм:

Высота траверсы, м:

Масса без окраски и цинкового покрытия, кг: 2115

Масса опоры с горячим цинковым покрытием, кг: 2198

База опоры, мм:

Высота траверсы, м:

Масса без окраски и цинкового покрытия, кг: 2020

Масса опоры с горячим цинковым покрытием, кг: 2099

База опоры, мм:

Высота траверсы, м:

Масса без окраски и цинкового покрытия, кг: 1972

Масса опоры с горячим цинковым покрытием, кг: 2049

База опоры, мм:

Высота траверсы, м:

Масса без окраски и цинкового покрытия, кг: 1836

Масса опоры с горячим цинковым покрытием, кг:

База опоры, мм:

Высота траверсы, м:

Масса без окраски и цинкового покрытия, кг: 2041

Масса опоры с горячим цинковым покрытием, кг: 2127

База опоры, мм:

Высота траверсы, м:

Масса без окраски и цинкового покрытия, кг: 1965

Масса опоры с горячим цинковым покрытием, кг: 2042

База опоры, мм:

Высота траверсы, м:

Масса без окраски и цинкового покрытия, кг: 1890

Масса опоры с горячим цинковым покрытием, кг: 1915

База опоры, мм:

Высота траверсы, м:

Масса без окраски и цинкового покрытия, кг:

Масса опоры с горячим цинковым покрытием, кг:

База опоры, мм:

Высота траверсы, м:

Масса без окраски и цинкового покрытия, кг: 1670

Масса опоры с горячим цинковым покрытием, кг: 1735

База опоры, мм:

Высота траверсы, м:

Масса без окраски и цинкового покрытия, кг: 1729

Масса опоры с горячим цинковым покрытием, кг: 1796

База опоры, мм:

Высота траверсы, м:

Масса без окраски и цинкового покрытия, кг: 1660

Масса опоры с горячим цинковым покрытием, кг:

База опоры, мм:

Высота траверсы, м:

Масса без окраски и цинкового покрытия, кг: 2104

Масса опоры с горячим цинковым покрытием, кг: 2183

База опоры, мм:

Высота траверсы, м:

Масса без окраски и цинкового покрытия, кг: 2083

Масса опоры с горячим цинковым покрытием, кг: 2165

База опоры, мм:

Высота траверсы, м:

Масса без окраски и цинкового покрытия, кг: 2330

Масса опоры с горячим цинковым покрытием, кг: 2421

База опоры, мм:

Высота траверсы, м:

Масса без окраски и цинкового покрытия, кг: 2201

Масса опоры с горячим цинковым покрытием, кг: 2287

База опоры, мм:

Высота траверсы, м:

Масса без окраски и цинкового покрытия, кг: 2097

Масса опоры с горячим цинковым покрытием, кг:

База опоры, мм:

Высота траверсы, м:

Масса без окраски и цинкового покрытия, кг: 2327

Масса опоры с горячим цинковым покрытием, кг: 2416

База опоры, мм:

Высота траверсы, м:

Масса без окраски и цинкового покрытия, кг: 2223

Масса опоры с горячим цинковым покрытием, кг: 2310

База опоры, мм: 4200

Высота траверсы, м: 10

Масса без окраски и цинкового покрытия, кг: 2964

Масса опоры с горячим цинковым покрытием, кг: 3080

База опоры, мм: 5700

Высота траверсы, м: 15

Масса без окраски и цинкового покрытия, кг: 4549

Масса опоры с горячим цинковым покрытием, кг: 4727

База опоры, мм: 4200

Высота траверсы, м: 10

Масса без окраски и цинкового покрытия, кг: 3140

Масса опоры с горячим цинковым покрытием, кг: 3283

База опоры, мм: 5700

Высота траверсы, м: 15

Масса без окраски и цинкового покрытия, кг: 4725

Масса опоры с горячим цинковым покрытием, кг: 4900

База опоры, мм: 4200

Высота траверсы, м: 10.5

Масса без окраски и цинкового покрытия, кг: 4831

Масса опоры с горячим цинковым покрытием, кг: 5020

База опоры, мм: 5200

Высота траверсы, м: 15.5

Масса без окраски и цинкового покрытия, кг: 6591

Масса опоры с горячим цинковым покрытием, кг: 6850

База опоры, мм: 4200

Высота траверсы, м: 10.5

Масса без окраски и цинкового покрытия, кг: 5004

Масса опоры с горячим цинковым покрытием, кг: 5200

База опоры, мм: 5700

Высота траверсы, м: 15.5

Масса без окраски и цинкового покрытия, кг: 6769

Масса опоры с горячим цинковым покрытием, кг: 7033

База опоры, мм: 2190

Высота траверсы, м: 10

Масса без окраски и цинкового покрытия, кг: 1635

Масса опоры с горячим цинковым покрытием, кг: 1700

База опоры, мм: 2532

Высота траверсы, м: 15

Масса без окраски и цинкового покрытия, кг: 2295

Масса опоры с горячим цинковым покрытием, кг: 2385

База опоры, мм: 3335

Высота траверсы, м: 19

Масса без окраски и цинкового покрытия, кг: 2813

Масса опоры с горячим цинковым покрытием, кг: 2920

База опоры, мм: 3900

Высота траверсы, м: 10.5

Масса без окраски и цинкового покрытия, кг: 2799

Масса опоры с горячим цинковым покрытием, кг: 2906

База опоры, мм: 5416

Высота траверсы, м: 15.5

Масса без окраски и цинкового покрытия, кг: 3834

Масса опоры с горячим цинковым покрытием, кг: 3986

База опоры, мм: 6616

Высота траверсы, м: 19.5

Масса без окраски и цинкового покрытия, кг: 5067

Масса опоры с горячим цинковым покрытием, кг: 5266

База опоры, мм:

Высота траверсы, м:

Масса без окраски и цинкового покрытия, кг: 2985

Масса опоры с горячим цинковым покрытием, кг: 3267

База опоры, мм:

Высота траверсы, м:

Масса без окраски и цинкового покрытия, кг: 2537

Масса опоры с горячим цинковым покрытием, кг: 2788

База опоры, мм:

Высота траверсы, м:

Масса без окраски и цинкового покрытия, кг: 2116

Масса опоры с горячим цинковым покрытием, кг: 2341

База опоры, мм:

Высота траверсы, м:

Масса без окраски и цинкового покрытия, кг: 2870

Масса опоры с горячим цинковым покрытием, кг: 3150

База опоры, мм:

Высота траверсы, м:

Масса без окраски и цинкового покрытия, кг: 2429

Масса опоры с горячим цинковым покрытием, кг: 2571

База опоры, мм:

Высота траверсы, м:

Масса без окраски и цинкового покрытия, кг: 2009

Масса опоры с горячим цинковым покрытием, кг: 2225

35 кВ

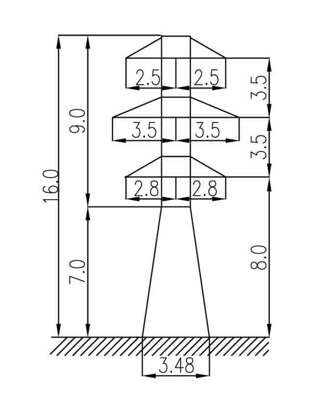
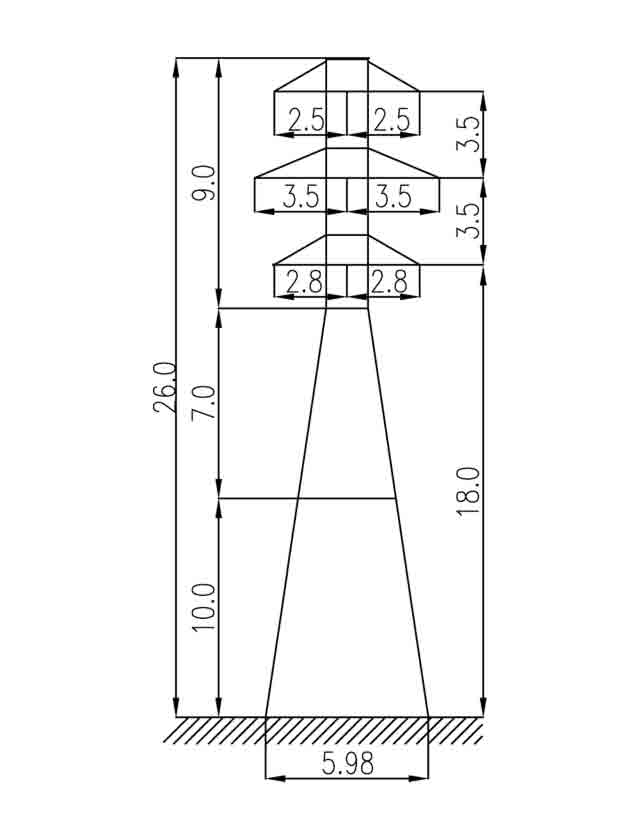
Анкерные опоры напряжением 35 кВ предназначены для натяжения и закрепления линий. Они имеют более жёсткую и сложную конструкцию.

Промежуточные опоры ЛЭП напряжением в 35 кВ являются связующим звеном между высоковольтными магистралями и значением, необходимым для обычных потребителей.

110 кВ

Высоковольтные линии с напряжением 110 кВ служат для передачи энергии населённым пунктам и производственным предприятиям.

Производятся согласно типового проекта 3.407.2-168, и используются для строительства воздушных ЛЭП 110 кВ.

Высоковольтные линии с напряжением 110 кВ служат для передачи энергии населённым пунктам и производственным предприятиям.

220 кВ

Анкерные угловые опоры воздушных линий 220 кВ производятся и устанавливаются для крепления и натяжения тросов и проводов при поворотах.

Используются в ходе протягивания линий электропередачи между его потребителями и электростанциями.

Переходные опоры ЛЭП напряжением в 220 кВ служат для поддержки и крепления проводов и тросов на нужном расстоянии.

Высоковольтные линии с напряжением 220 кВ служат для передачи энергии населённым пунктам и производственным предприятиям.

330кВ

Линии напряжением 330 кВ служат для распределения электроэнергии внутри крупных энергосистем, для снабжения электроэнергией удалённых или крупных потребителей.

Это элемент воздушной линии электропередач, функцией которых является восприятие создаваемых нормальным односторонним натяжением проводов усилий, направленных вдоль линий в Алма-ате.

Линии напряжением 330 кВ служат для распределения электроэнергии внутри крупных энергосистем.

Они предназначены для крепления и поддержки проводов и тросов на определённом уровне относительно друг друга и земли. Служат для передачи тока напряжением от 35 кВ и выше.

400 кВ

Производство, изготовление анкерно-угловых опор ВЛ 400 кВ на заводе «Энергостальконструкция».

Высоковольтные линии с напряжением 400 кВ служат для передачи энергии населённым пунктам и производственным предприятиям.

500 кВ

Напряжение в 500 кВ необходимо для обеспечения электроэнергией крупных потребителей и передачи её на длительные расстояния.

Линии напряжением в 500кВ необходимы для создания единой энергетической системы по всей стране, для распределения мощности для крупных электростанций и снабжения электроэнергией крупных или энергоёмких предприятий.

750 кВ

Рассчитаны для строительства ВЛ 750кВ в регионах с различными гололедно — ветровыми нагрузками.

    Заполните поля и мы с Вами свяжемся!






    Нажмите «Принять», если вы соглашаетесь с условиями обработки cookie и данных о поведении на сайте, нужных нам для аналитики. Запретить обработку cookie можете через браузер.
    Принять