Металлические опоры ЛЭП Стальные порталы ору Прожекторные мачты и молниеотводы Ростверки и металлические балки Антенные опоры и башни релейной связи Металлоконструкции различного назначения
35 кВ 110 кВ 220 кВ 330кВ 400 кВ 500 кВ 750 кВ
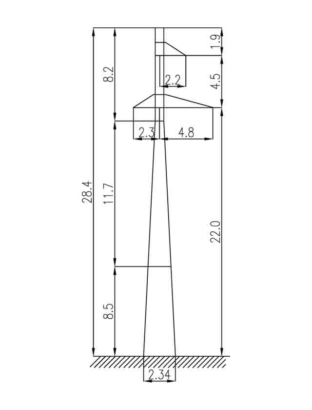
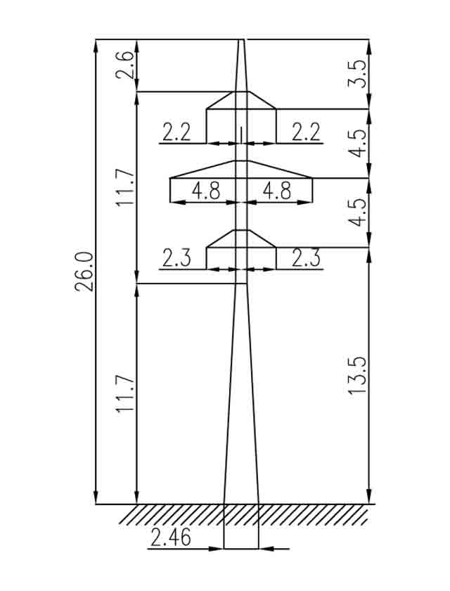
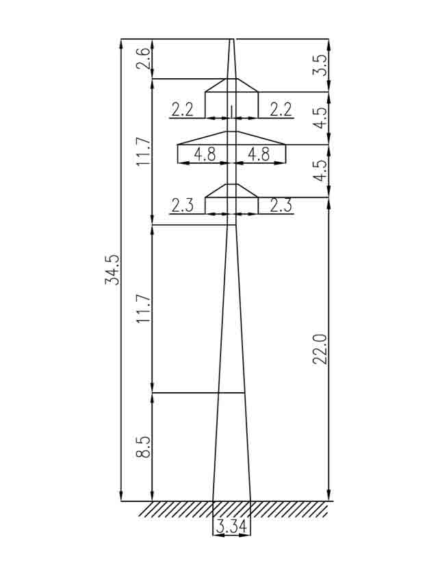
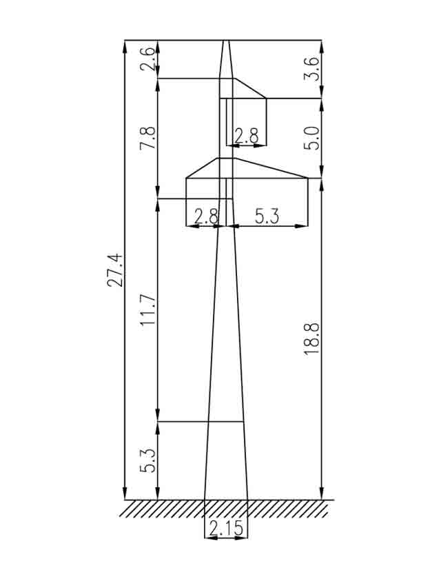
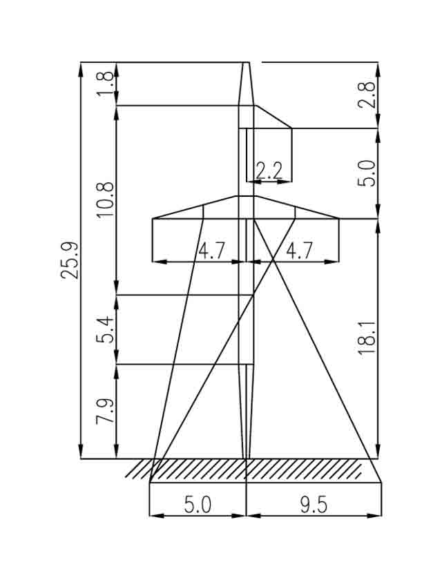
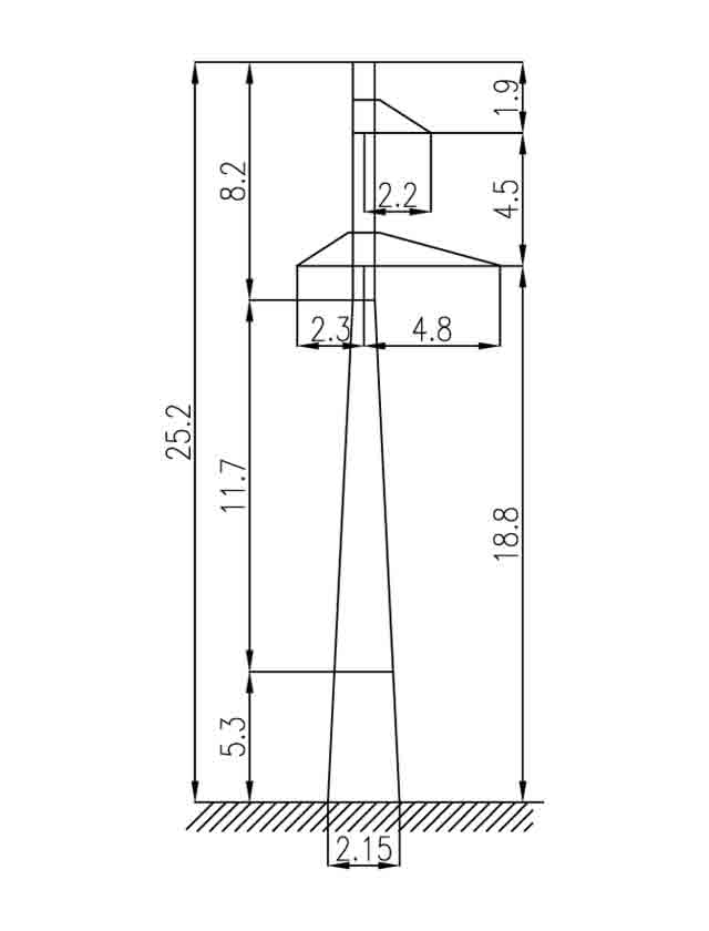
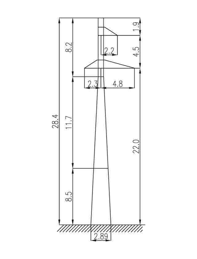
Анкерно-угловые Переходные Промежуточные

Высоковольтные линии с напряжением 110 кВ в Алма-ате

Промежуточные решетчатые опоры ЛЭП 110 кВ с высокой морозостойкостью изготовлены методом автоматической сварки под флюсом. Поэтому срок службы данного оборудования увеличивается до 60 лет в Алма-ате.

Опоры линии электропередач могут иметь различные варианты исполнения. Наиболее распространенными являются деревянные опоры на базе дерева или бетона. Стальные опоры используются при необходимости значительного увеличения несущей способности опоры. Применение железобетонных или металлических опор обусловлено значительным количеством эксплуатируемых линий электропередач.

Марка опоры Масса без окраски и цинкового покрытия, кг Масса опоры с горячим цинковым покрытием, кг
1П110-1 2211 2294
1П110-1-3.2 1972 2046
1П110-1-8.5 1570 1628
1П110-2 3318 3440
1П110-2-3.2 2862 2967
1П110-2-8.5 2256 2338
1П110-3 2033 2108
1П110-3-3.2 1797 1863
1П110-3-8.5 1406 1458
1П110-4 3543 3674
1П110-4-3.2 3085 3198
1П110-4-8.5 2477 2567
1П110-6 3860 4002
1П110-6-3.2 3379 3503
1П110-6-8.5 2736 2836
2П110-1 2557 2652
2П110-1-3.6 2183 2264
2П110-1-8.5 1699 1761
2П110-11 2575 2657
2П110-11-10.8 1968 2030
2П110-11-5.4 2296 2369
2П110-11+5.4 2915 3008
2П110-3 2302 2387
2П110-3-3.6 1949 2020
2П110-3-8.5 1487 1541
3П110-1 2680 2780
3П110-1-3.2 2396 2485
3П110-1-8.5 1906 1977
3П110-2 3906 4050
3П110-2-3.2 3443 3570
3П110-2-8.5 2856 2960
3П110-3 2317 2403
3П110-3-3.2 2043 2120
3П110-3-8.5 1629 1690
4П110 8760
4П110+5 10164
П110-1 1895 1969
П110-1+4 2469 2565
П110-1В 1922 1996
П110-1В+4 2485 2581
П110-2 2795 2550
П110-2В 2736 2843
П110-2В+4 3378 3509
П110-3В 2331 2421
П110-3В+4 2950 3065
П110-3У
П110-4В 3191 3316
П110-4В+4 3899 4051
П110-5В 2469 2565
П110-5В+4 3088 3208
П110-5ПГ
П110-6В 3749 3895
П110-6В+4 4450 4623
П110-6ПГ
ПБ110-3 2033 2108
ПС110-10
ПС110-10+1.3
ПС110-10В 4869 5059
ПС110-10ПГ
ПС110-5
ПС110-5В 2138 2221
ПС110-6
ПС110-6В 2138 2221
ПС110-9
ПС110-9В 2816 2925
ПС110-9ПГ
ПУС110-1 4419 4592
ПУС110-2 6750 7014

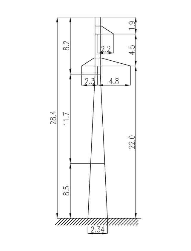
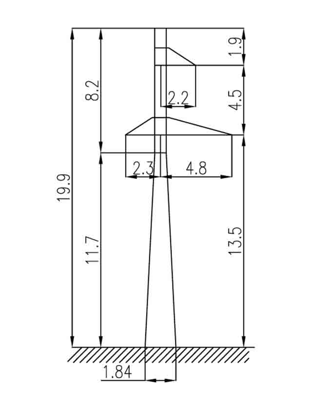
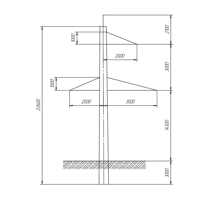
База опоры, мм:

Высота траверсы, м:

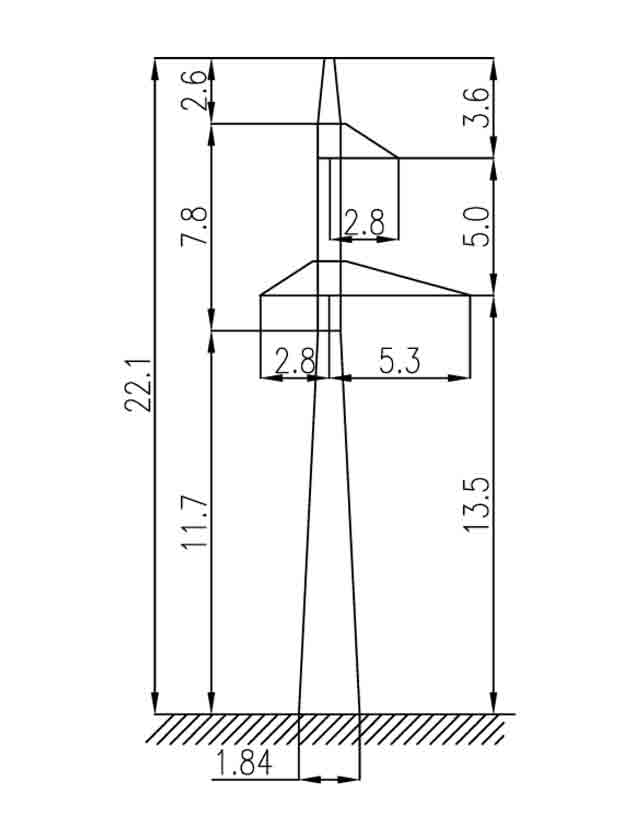
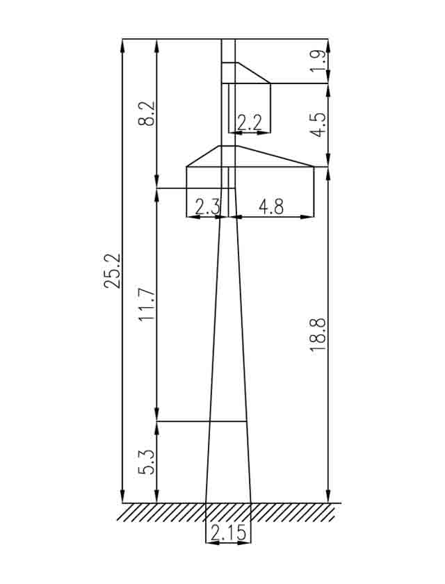
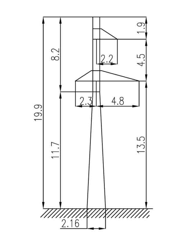
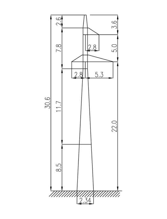
Масса без окраски и цинкового покрытия, кг: 2211

Масса опоры с горячим цинковым покрытием, кг: 2294

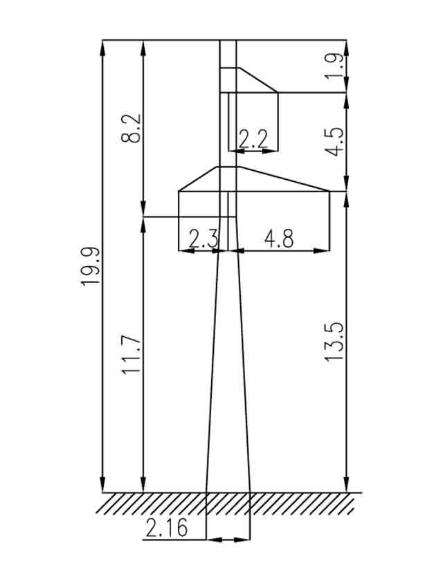
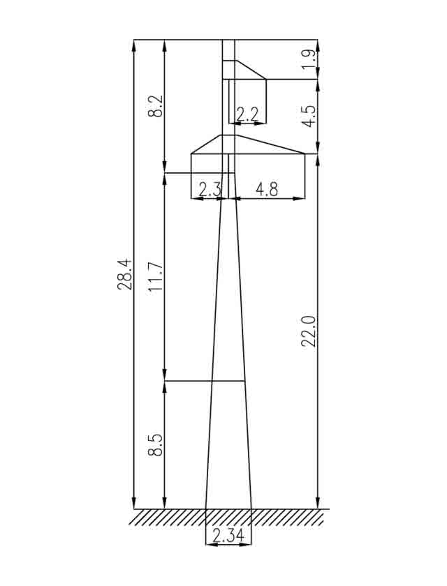
База опоры, мм:

Высота траверсы, м:

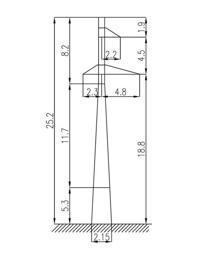
Масса без окраски и цинкового покрытия, кг: 1972

Масса опоры с горячим цинковым покрытием, кг: 2046

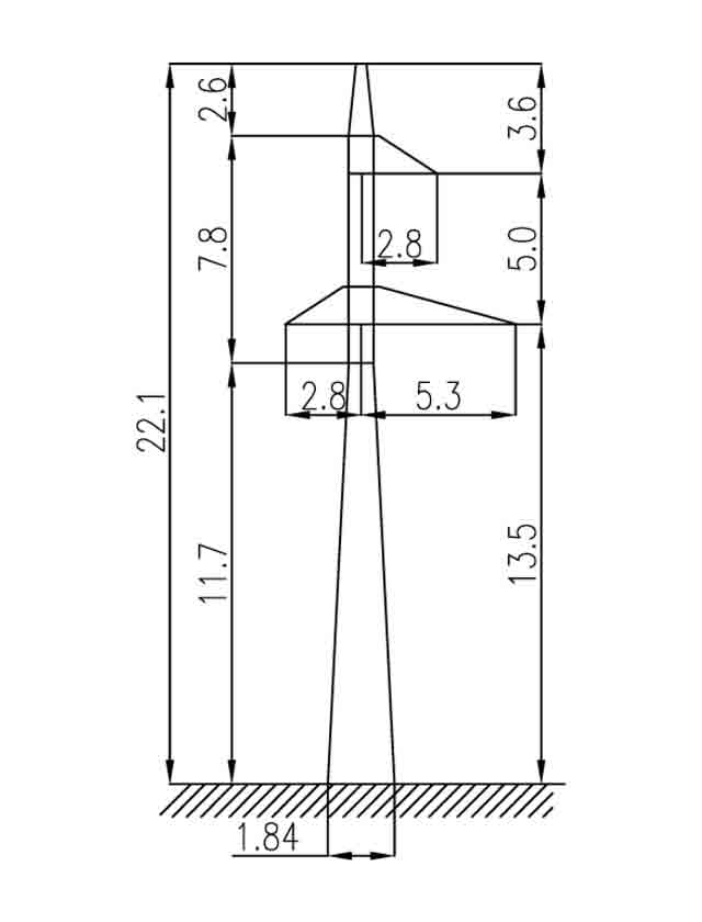
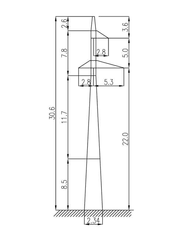
База опоры, мм:

Высота траверсы, м:

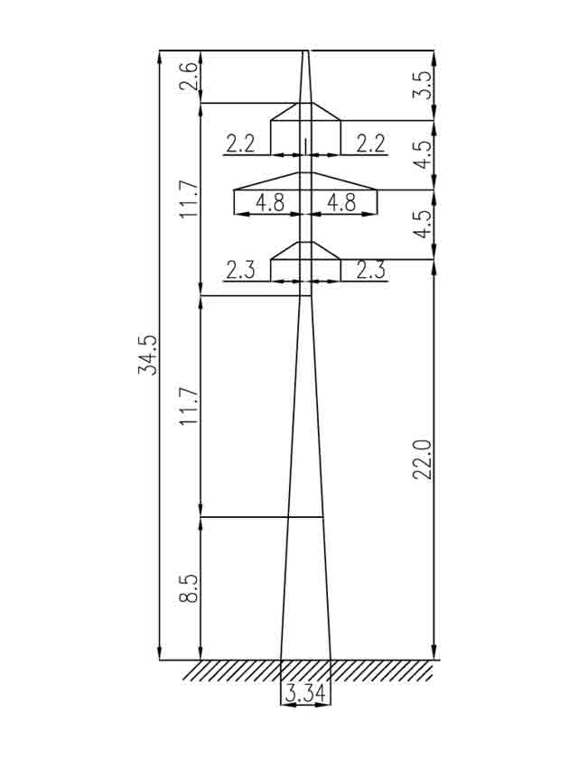
Масса без окраски и цинкового покрытия, кг: 1570

Масса опоры с горячим цинковым покрытием, кг: 1628

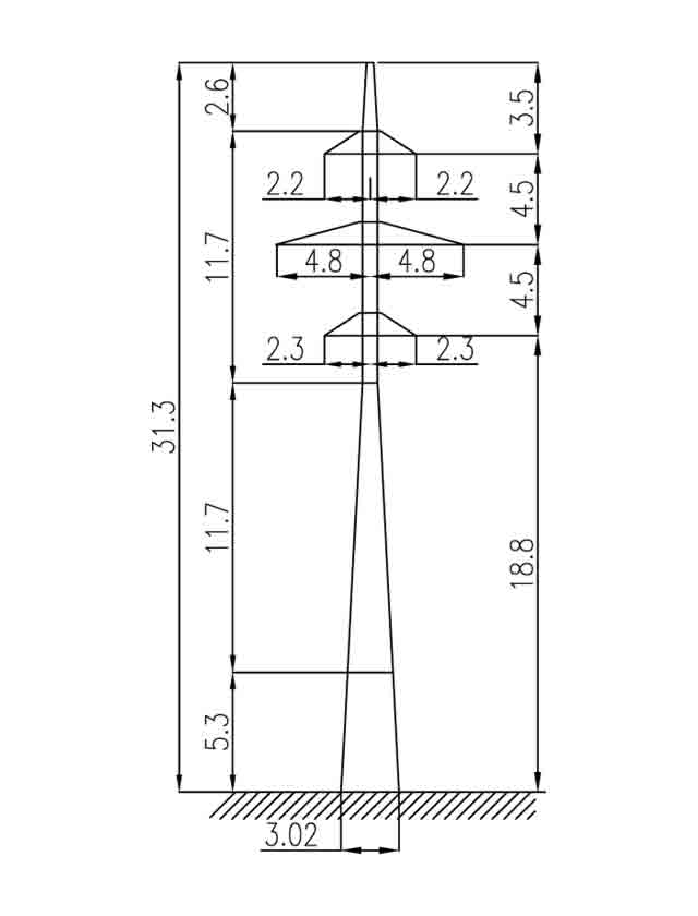
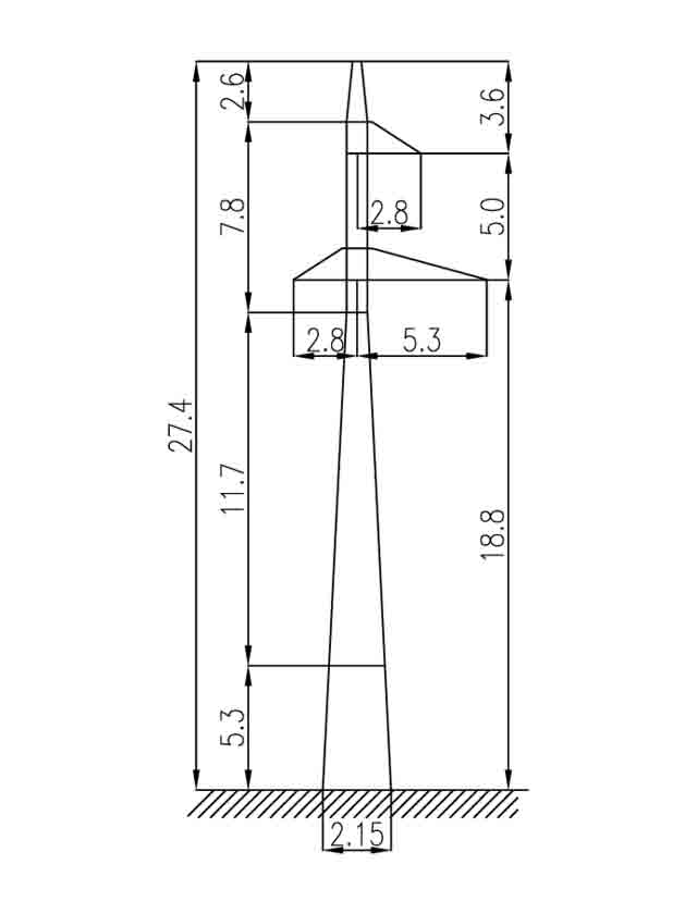
База опоры, мм:

Высота траверсы, м:

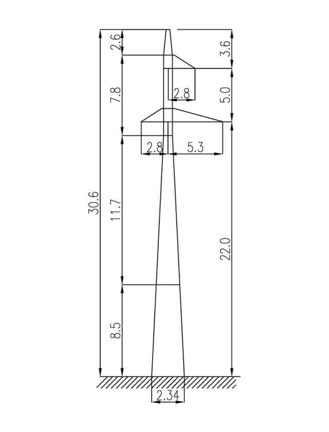
Масса без окраски и цинкового покрытия, кг: 3318

Масса опоры с горячим цинковым покрытием, кг: 3440

База опоры, мм:

Высота траверсы, м:

Масса без окраски и цинкового покрытия, кг: 2862

Масса опоры с горячим цинковым покрытием, кг: 2967

База опоры, мм:

Высота траверсы, м:

Масса без окраски и цинкового покрытия, кг: 2256

Масса опоры с горячим цинковым покрытием, кг: 2338

База опоры, мм:

Высота траверсы, м:

Масса без окраски и цинкового покрытия, кг: 2033

Масса опоры с горячим цинковым покрытием, кг: 2108

База опоры, мм:

Высота траверсы, м:

Масса без окраски и цинкового покрытия, кг: 1797

Масса опоры с горячим цинковым покрытием, кг: 1863

База опоры, мм:

Высота траверсы, м:

Масса без окраски и цинкового покрытия, кг: 1406

Масса опоры с горячим цинковым покрытием, кг: 1458

База опоры, мм:

Высота траверсы, м:

Масса без окраски и цинкового покрытия, кг: 3543

Масса опоры с горячим цинковым покрытием, кг: 3674

База опоры, мм:

Высота траверсы, м:

Масса без окраски и цинкового покрытия, кг: 3085

Масса опоры с горячим цинковым покрытием, кг: 3198

База опоры, мм:

Высота траверсы, м:

Масса без окраски и цинкового покрытия, кг: 2477

Масса опоры с горячим цинковым покрытием, кг: 2567

База опоры, мм:

Высота траверсы, м:

Масса без окраски и цинкового покрытия, кг: 3860

Масса опоры с горячим цинковым покрытием, кг: 4002

База опоры, мм:

Высота траверсы, м:

Масса без окраски и цинкового покрытия, кг: 3379

Масса опоры с горячим цинковым покрытием, кг: 3503

База опоры, мм:

Высота траверсы, м:

Масса без окраски и цинкового покрытия, кг: 2736

Масса опоры с горячим цинковым покрытием, кг: 2836

База опоры, мм:

Высота траверсы, м:

Масса без окраски и цинкового покрытия, кг: 2557

Масса опоры с горячим цинковым покрытием, кг: 2652

База опоры, мм:

Высота траверсы, м:

Масса без окраски и цинкового покрытия, кг: 2183

Масса опоры с горячим цинковым покрытием, кг: 2264

База опоры, мм:

Высота траверсы, м:

Масса без окраски и цинкового покрытия, кг: 1699

Масса опоры с горячим цинковым покрытием, кг: 1761

База опоры, мм:

Высота траверсы, м:

Масса без окраски и цинкового покрытия, кг: 2575

Масса опоры с горячим цинковым покрытием, кг: 2657

База опоры, мм:

Высота траверсы, м:

Масса без окраски и цинкового покрытия, кг: 1968

Масса опоры с горячим цинковым покрытием, кг: 2030

База опоры, мм:

Высота траверсы, м:

Масса без окраски и цинкового покрытия, кг: 2296

Масса опоры с горячим цинковым покрытием, кг: 2369

База опоры, мм:

Высота траверсы, м:

Масса без окраски и цинкового покрытия, кг: 2915

Масса опоры с горячим цинковым покрытием, кг: 3008

База опоры, мм:

Высота траверсы, м:

Масса без окраски и цинкового покрытия, кг: 2302

Масса опоры с горячим цинковым покрытием, кг: 2387

База опоры, мм:

Высота траверсы, м:

Масса без окраски и цинкового покрытия, кг: 1949

Масса опоры с горячим цинковым покрытием, кг: 2020

База опоры, мм:

Высота траверсы, м:

Масса без окраски и цинкового покрытия, кг: 1487

Масса опоры с горячим цинковым покрытием, кг: 1541

База опоры, мм:

Высота траверсы, м:

Масса без окраски и цинкового покрытия, кг: 2680

Масса опоры с горячим цинковым покрытием, кг: 2780

База опоры, мм:

Высота траверсы, м:

Масса без окраски и цинкового покрытия, кг: 2396

Масса опоры с горячим цинковым покрытием, кг: 2485

База опоры, мм:

Высота траверсы, м:

Масса без окраски и цинкового покрытия, кг: 1906

Масса опоры с горячим цинковым покрытием, кг: 1977

База опоры, мм:

Высота траверсы, м:

Масса без окраски и цинкового покрытия, кг: 3906

Масса опоры с горячим цинковым покрытием, кг: 4050

База опоры, мм:

Высота траверсы, м:

Масса без окраски и цинкового покрытия, кг: 3443

Масса опоры с горячим цинковым покрытием, кг: 3570

База опоры, мм:

Высота траверсы, м:

Масса без окраски и цинкового покрытия, кг: 2856

Масса опоры с горячим цинковым покрытием, кг: 2960

База опоры, мм:

Высота траверсы, м:

Масса без окраски и цинкового покрытия, кг: 2317

Масса опоры с горячим цинковым покрытием, кг: 2403

База опоры, мм:

Высота траверсы, м:

Масса без окраски и цинкового покрытия, кг: 2043

Масса опоры с горячим цинковым покрытием, кг: 2120

База опоры, мм:

Высота траверсы, м:

Масса без окраски и цинкового покрытия, кг: 1629

Масса опоры с горячим цинковым покрытием, кг: 1690

База опоры, мм:

Высота траверсы, м:

Масса без окраски и цинкового покрытия, кг: 8760

Масса опоры с горячим цинковым покрытием, кг:

База опоры, мм:

Высота траверсы, м:

Масса без окраски и цинкового покрытия, кг: 10164

Масса опоры с горячим цинковым покрытием, кг:

База опоры, мм:

Высота траверсы, м:

Масса без окраски и цинкового покрытия, кг: 1895

Масса опоры с горячим цинковым покрытием, кг: 1969

База опоры, мм:

Высота траверсы, м:

Масса без окраски и цинкового покрытия, кг: 2469

Масса опоры с горячим цинковым покрытием, кг: 2565

База опоры, мм:

Высота траверсы, м:

Масса без окраски и цинкового покрытия, кг: 1922

Масса опоры с горячим цинковым покрытием, кг: 1996

База опоры, мм:

Высота траверсы, м:

Масса без окраски и цинкового покрытия, кг: 2485

Масса опоры с горячим цинковым покрытием, кг: 2581

База опоры, мм:

Высота траверсы, м:

Масса без окраски и цинкового покрытия, кг: 2795

Масса опоры с горячим цинковым покрытием, кг: 2550

База опоры, мм:

Высота траверсы, м:

Масса без окраски и цинкового покрытия, кг: 2736

Масса опоры с горячим цинковым покрытием, кг: 2843

База опоры, мм:

Высота траверсы, м:

Масса без окраски и цинкового покрытия, кг: 3378

Масса опоры с горячим цинковым покрытием, кг: 3509

База опоры, мм:

Высота траверсы, м:

Масса без окраски и цинкового покрытия, кг: 2331

Масса опоры с горячим цинковым покрытием, кг: 2421

База опоры, мм:

Высота траверсы, м:

Масса без окраски и цинкового покрытия, кг: 2950

Масса опоры с горячим цинковым покрытием, кг: 3065

База опоры, мм:

Высота траверсы, м:

Масса без окраски и цинкового покрытия, кг:

Масса опоры с горячим цинковым покрытием, кг:

База опоры, мм:

Высота траверсы, м:

Масса без окраски и цинкового покрытия, кг: 3191

Масса опоры с горячим цинковым покрытием, кг: 3316

База опоры, мм:

Высота траверсы, м:

Масса без окраски и цинкового покрытия, кг: 3899

Масса опоры с горячим цинковым покрытием, кг: 4051

База опоры, мм:

Высота траверсы, м:

Масса без окраски и цинкового покрытия, кг: 2469

Масса опоры с горячим цинковым покрытием, кг: 2565

База опоры, мм:

Высота траверсы, м:

Масса без окраски и цинкового покрытия, кг: 3088

Масса опоры с горячим цинковым покрытием, кг: 3208

База опоры, мм:

Высота траверсы, м:

Масса без окраски и цинкового покрытия, кг:

Масса опоры с горячим цинковым покрытием, кг:

База опоры, мм: 2800

Высота траверсы, м:

Масса без окраски и цинкового покрытия, кг: 3749

Масса опоры с горячим цинковым покрытием, кг: 3895

База опоры, мм: 3200

Высота траверсы, м:

Масса без окраски и цинкового покрытия, кг: 4450

Масса опоры с горячим цинковым покрытием, кг: 4623

База опоры, мм:

Высота траверсы, м:

Масса без окраски и цинкового покрытия, кг:

Масса опоры с горячим цинковым покрытием, кг:

База опоры, мм:

Высота траверсы, м:

Масса без окраски и цинкового покрытия, кг: 2033

Масса опоры с горячим цинковым покрытием, кг: 2108

База опоры, мм:

Высота траверсы, м:

Масса без окраски и цинкового покрытия, кг:

Масса опоры с горячим цинковым покрытием, кг:

База опоры, мм:

Высота траверсы, м:

Масса без окраски и цинкового покрытия, кг:

Масса опоры с горячим цинковым покрытием, кг:

База опоры, мм: 2640

Высота траверсы, м:

Масса без окраски и цинкового покрытия, кг: 4869

Масса опоры с горячим цинковым покрытием, кг: 5059

База опоры, мм:

Высота траверсы, м:

Масса без окраски и цинкового покрытия, кг:

Масса опоры с горячим цинковым покрытием, кг:

База опоры, мм:

Высота траверсы, м:

Масса без окраски и цинкового покрытия, кг:

Масса опоры с горячим цинковым покрытием, кг:

База опоры, мм:

Высота траверсы, м:

Масса без окраски и цинкового покрытия, кг: 2138

Масса опоры с горячим цинковым покрытием, кг: 2221

База опоры, мм:

Высота траверсы, м:

Масса без окраски и цинкового покрытия, кг:

Масса опоры с горячим цинковым покрытием, кг:

База опоры, мм:

Высота траверсы, м:

Масса без окраски и цинкового покрытия, кг: 2138

Масса опоры с горячим цинковым покрытием, кг: 2221

База опоры, мм: 2674

Высота траверсы, м:

Масса без окраски и цинкового покрытия, кг:

Масса опоры с горячим цинковым покрытием, кг:

База опоры, мм: 2674

Высота траверсы, м:

Масса без окраски и цинкового покрытия, кг: 2816

Масса опоры с горячим цинковым покрытием, кг: 2925

База опоры, мм:

Высота траверсы, м:

Масса без окраски и цинкового покрытия, кг:

Масса опоры с горячим цинковым покрытием, кг:

База опоры, мм:

Высота траверсы, м:

Масса без окраски и цинкового покрытия, кг: 4419

Масса опоры с горячим цинковым покрытием, кг: 4592

База опоры, мм:

Высота траверсы, м:

Масса без окраски и цинкового покрытия, кг: 6750

Масса опоры с горячим цинковым покрытием, кг: 7014

    Заполните поля и мы с Вами свяжемся!






    Нажмите «Принять», если вы соглашаетесь с условиями обработки cookie и данных о поведении на сайте, нужных нам для аналитики. Запретить обработку cookie можете через браузер.
    Принять