Металлические опоры ЛЭП Стальные порталы ору Прожекторные мачты и молниеотводы Ростверки и металлические балки Антенные опоры и башни релейной связи Металлоконструкции различного назначения
35 кВ 110 кВ 220 кВ 330кВ 400 кВ 500 кВ 750 кВ
Анкерно-угловые Промежуточные

1П35-2

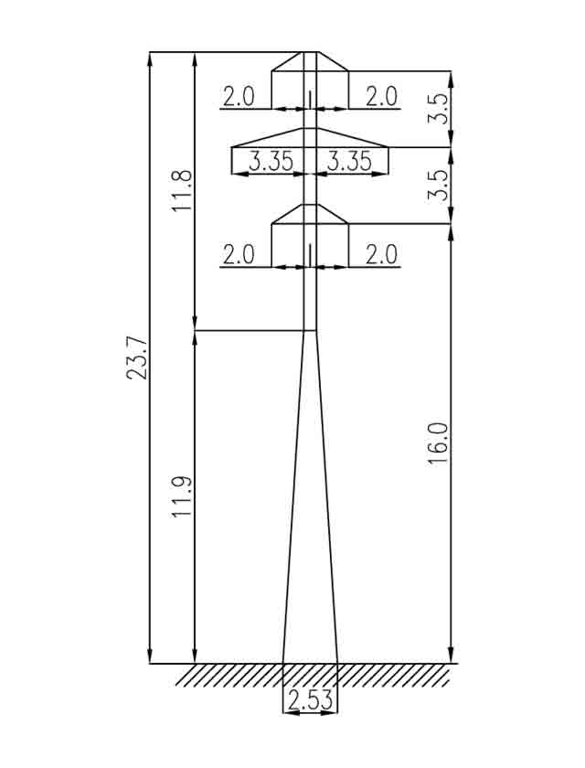
Шифр опоры 1П35-2
Тип опоры Промежуточная
Марка проводов АС70/11-АС120/19
Марка троса ТК-9.1
Цепность Двухцепная
№ типового проекта 3.407.2-170.2 СЗО ЭСП г. Ленинград
Масса опоры по черт. КМ без цинка в кг 2007
Масса опоры по черт. КМ с цинком в кг 2080

Цена на опору 1П35-2 в Алма-ате может различаться, в зависимости от марки стали металлоконструкций и антикоррозийного покрытия. Промежуточные опоры служат только для поддержания проводов на определенном уровне, поэтому данные опоры имеют меньший вес, а значит и меньшую цену. Благодаря этому данный тип опор популярен при строительстве. Опора 1П35-2 по типу промежуточная, марка провода АС70/11-АС120/19, марка троса ТК-9.1, цепность — двухцепная, типовой проект 3.407.2-170.2 СЗО ЭСП г. Ленинград, вес опоры без цинка 2007 кг и с цинковым покрытием 2080 кг.

    Заполните поля и мы с Вами свяжемся!






    Нажмите «Принять», если вы соглашаетесь с условиями обработки cookie и данных о поведении на сайте, нужных нам для аналитики. Запретить обработку cookie можете через браузер.
    Принять