Металлические опоры ЛЭП Стальные порталы ору Прожекторные мачты и молниеотводы Ростверки и металлические балки Антенные опоры и башни релейной связи Металлоконструкции различного назначения
35 кВ 110 кВ 220 кВ 330кВ 400 кВ 500 кВ 750 кВ
Анкерно-угловые Промежуточные

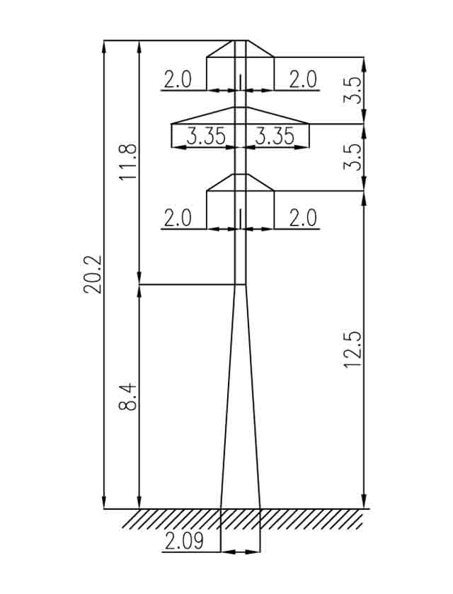
1П35-2Т

Шифр опоры 1П35-2Т
Тип опоры Промежуточная
Марка проводов АС70/11-АС120/19
Марка троса ТК-9.1
Цепность Двухцепная
№ типового проекта 3.407.2-170.2 СЗО ЭСП г. Ленинград
Масса опоры по черт. КМ без цинка в кг 2114
Масса опоры по черт. КМ с цинком в кг 2190

Цена на опору 1П35-2Т в Алма-ате может различаться, в зависимости от марки стали металлоконструкций и антикоррозийного покрытия. Опоры промежуточного типа изготавливаются только для поддержки проводо на определенном уровне и не предназначены для дополнительных нагрузок. Поэтому вес данных опор меньше, а значит и стоят дешевле других металлических опор. Масса опоры 1П35-2Т без антикоррозийного покрытия 2114 кг, вес с цинковым покрытием 2190 кг. По цепности — двухцепная, марка провода — ТК-9.1. Опора 1П35-2Т изготавливается по типовому проекту 3.407.2-170.2 СЗО ЭСП г. Ленинград.

    Заполните поля и мы с Вами свяжемся!






    Нажмите «Принять», если вы соглашаетесь с условиями обработки cookie и данных о поведении на сайте, нужных нам для аналитики. Запретить обработку cookie можете через браузер.
    Принять