Металлические опоры ЛЭП Стальные порталы ору Прожекторные мачты и молниеотводы Ростверки и металлические балки Антенные опоры и башни релейной связи Металлоконструкции различного назначения
35 кВ 110 кВ 220 кВ 330кВ 400 кВ 500 кВ 750 кВ
Анкерно-угловые Промежуточные

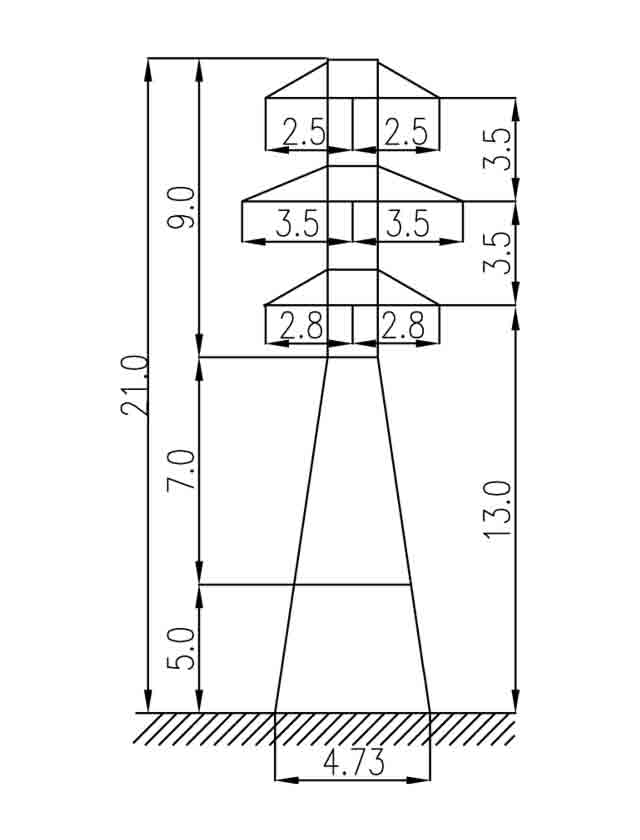
1У35-2+5

Шифр опоры 1У35-2+5
Тип опоры Анкерно-угловая
Цепность Двухцепная
№ чертежа монтажной схемы 3.407.2-170.3 СЗО ЭСП
Масса опоры по черт. КМ без цинка в кг 5205
Масса опоры по черт. КМ с цинком в кг 5399

Цены на опоры 1У35-2+5 в Алма-ате могут различаться, в зависимости от марки стали металлоконструкций и антикоррозийного покрытия. По цепности опоры — двухцепные, по типу — анкерно-угловая. Опора ВЛ 1У35-2+5 изготавливается по чертежной монтажной схеме № 3.407.2-170.3 СЗО ЭСП. Масса опоры без цинкового покрытия 5205 кг, масса опоры с горячим цинком 5399 кг.

    Заполните поля и мы с Вами свяжемся!






    Нажмите «Принять», если вы соглашаетесь с условиями обработки cookie и данных о поведении на сайте, нужных нам для аналитики. Запретить обработку cookie можете через браузер.
    Принять