Металлические опоры ЛЭП Стальные порталы ору Прожекторные мачты и молниеотводы Ростверки и металлические балки Антенные опоры и башни релейной связи Металлоконструкции различного назначения
35 кВ 110 кВ 220 кВ 330кВ 400 кВ 500 кВ 750 кВ
Анкерно-угловые Переходные Промежуточные

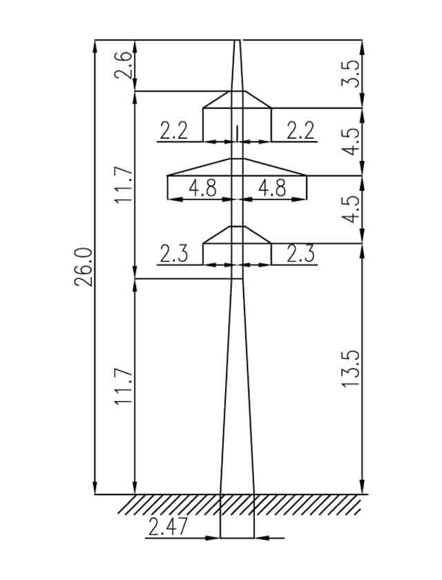
1П110-6-8.5

Шифр опоры 1П110-6-8.5
Тип опоры Промежуточная
Цепность Двухцепная
Типовой проект 3.407.2-170.2 СЗО ЭСП г. Ленинград
Марка проводов АС 70/11 — АС 240/32
Марка троса ТК-9.1
Масса опоры по черт. КМ без цинка в кг 2736
Масса опоры по черт. КМ с цинком в кг 2836

Цены на металлические опоры ЛЭП 1П110-6-8.5 в Алма-ате могут различаться, в зависимости от марки стали и антикоррозийного покрытия металлоконструкций. Вес опоры 1П110-6-8.5 без цинкового покрытия 2736 кг, с цинковым покрытием 2836. Антикоррозийная защита методом горячего цинкования является самым надежным способом. Благодаря такой защиты срок службы опор ЛЭП можно продлить до 80 лет. Опора 1П110-6-8.5 изготавливается по типовому проекту 3.407.2-170.2 СЗО ЭСП г. Ленинград.

    Заполните поля и мы с Вами свяжемся!






    Нажмите «Принять», если вы соглашаетесь с условиями обработки cookie и данных о поведении на сайте, нужных нам для аналитики. Запретить обработку cookie можете через браузер.
    Принять