Металлические опоры ЛЭП Стальные порталы ору Прожекторные мачты и молниеотводы Ростверки и металлические балки Антенные опоры и башни релейной связи Металлоконструкции различного назначения
35 кВ 110 кВ 220 кВ 330кВ 400 кВ 500 кВ 750 кВ
Анкерно-угловые Переходные Промежуточные

1П110-4-8.5

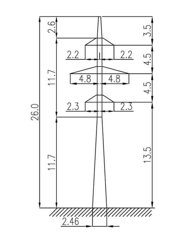
Шифр опоры 1П110-4-8.5
Тип опоры Промежуточная
Цепность Двухцепная
№ чертежа монтажной схемы 3.407.2-170.2 СЗО ЭСП г. Ленинград
Марка проводов АС 120/19
Марка троса ТК-9.1
Масса опоры по черт. КМ без цинка в кг 2477
Масса опоры по черт. КМ с цинком в кг 2567

Цена на металлическую опору 1П110-4-8.5 в Алма-ате могут различаться, в зависимости от марки стали и антикоррозийного покрытия металлоконструкций. Вес опоры по унифицированному чертежу 3.407.2-170.2 СЗО ЭСП г. Ленинград с цинковым покрытием 2477 кг, без цинкового покрытия 2567 кг. Опора 1П110-4-8.5 является двухцепной. Опоры промежуточные могут выдерживать небольшие нагрузки, а значит масса данных опор меньше, следовательно и цена ниже.

    Заполните поля и мы с Вами свяжемся!






    Нажмите «Принять», если вы соглашаетесь с условиями обработки cookie и данных о поведении на сайте, нужных нам для аналитики. Запретить обработку cookie можете через браузер.
    Принять