Металлические опоры ЛЭП Стальные порталы ору Прожекторные мачты и молниеотводы Ростверки и металлические балки Антенные опоры и башни релейной связи Металлоконструкции различного назначения
35 кВ 110 кВ 220 кВ 330кВ 400 кВ 500 кВ 750 кВ
Анкерно-угловые Концевые Переходные Промежуточные

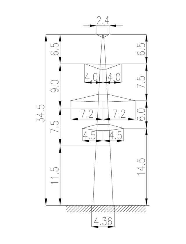
3П220-2Т-11.5

Шифр опоры 3П220-2Т-11.5
Тип опоры Промежуточная
Цепность Двухцепная
Марка троса C70 (ТК-11)
Марка проводов АС240/32, АС400/51
№ чертежа монтажной схемы 3.407.2-156.2 01КМ, СЗО ЭСП
Масса опоры по черт. КМ без цинка в кг 5158
Масса опоры по черт. КМ с цинком в кг 5350

Цена на опору 3П220-2Т-11.5 в Алма-ате может различаться, в зависимости от марки стали металлоконструкций и антикоррозийного покрытия. Масса опоры без покрытия 5158 кг, с покрытием методом горячего цинкования 5350 кг. Опора 3П220-2Т-11.5 изготавливается по типовой монтажной схеме 3.407.2-156.2 01КМ, СЗО ЭСП. Данные опоры по типу — промежуточные, по цепности — двухцепные. Марка троса C70 (ТК-11), марка проводов АС240/32, АС400/51. Опоры 3П220-2Т-11.5 комплектуются оцинкованными метизами. Заказы отгружаем во все регионы РФ и в страны ближнего зарубежья.

    Заполните поля и мы с Вами свяжемся!






    Нажмите «Принять», если вы соглашаетесь с условиями обработки cookie и данных о поведении на сайте, нужных нам для аналитики. Запретить обработку cookie можете через браузер.
    Принять