Металлические опоры ЛЭП Стальные порталы ору Прожекторные мачты и молниеотводы Ростверки и металлические балки Антенные опоры и башни релейной связи Металлоконструкции различного назначения
35 кВ 110 кВ 220 кВ 330кВ 400 кВ 500 кВ 750 кВ
Анкерно-угловые Концевые Переходные Промежуточные

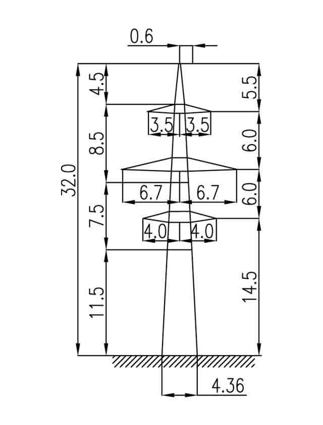
2П220-2-11.5

Шифр опоры 2П220-2-11.5
Тип опоры Промежуточная
Цепность Двухцепная
Типовая серия 3.407.2-145.1 13КМ, СЗО ЭСП
Марка проводов АС240/32, АС400/51
Марка троса С70 (ТК-11)
Масса опоры по черт. КМ без цинка в кг 4689
Масса опоры по черт. КМ с цинком в кг 4861

Цены на опоры 2П220-2-11.5 в Алма-ате могут различаться, в зависимости от марки стали металлоконструкций и антикоррозийного покрытия. Опора 2П220-2-11.5 изготавливается по типовой серии 3.407.2-145.1 13КМ, СЗО ЭСП, марка проводов АС240/32, АС400/51, марка троса С70 (ТК-11). Масса опор без антикоррозийного покрытия 4689 кг, масса опоры с покрытием методом горячего цинкования 4861 кг. Все металлоконструкции комплектуются с оцинкованными метизами. Доставку осуществляем во все регионы России и в страны ближнего зарубежья.

    Заполните поля и мы с Вами свяжемся!






    Нажмите «Принять», если вы соглашаетесь с условиями обработки cookie и данных о поведении на сайте, нужных нам для аналитики. Запретить обработку cookie можете через браузер.
    Принять