Металлические опоры ЛЭП Стальные порталы ору Прожекторные мачты и молниеотводы Ростверки и металлические балки Антенные опоры и башни релейной связи Металлоконструкции различного назначения
35 кВ 110 кВ 220 кВ 330кВ 400 кВ 500 кВ 750 кВ
Анкерно-угловые Концевые Переходные Промежуточные

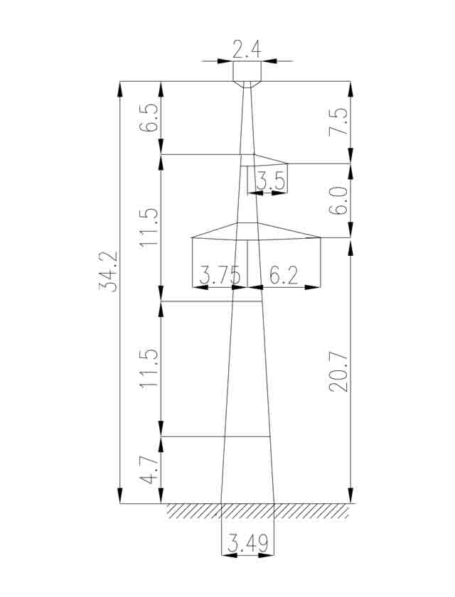
2П220-1Т-11.5

Шифр опоры 2П220-1Т-11.5
Тип опоры Промежуточная
Цепность Одноцепная
Типовая серия 3.407.2-145.1 01КМ, СЗО ЭСП
Марка проводов АС 240/32 — АС 400/51
Марка троса С70 (ТК-11)
Масса опоры по черт. КМ без цинка в кг 3162
Масса опоры по черт. КМ с цинком в кг 3279

Цены на опоры 2П220-1Т-11.5 в Алма-ате могут различаться, в зависимости от марки стали металлоконструкций и антикоррозийного покрытия. Данная опора изготавливается по типовому проекту 3.407.2-145.1 01КМ, СЗО ЭСП. Вес опоры 2П220-1Т-11.5 без антикоррозийного покрытия 3162 кг, с покрытием методом горячего цинкования 3279 кг. Марка проводов АС 240/32 — АС 400/51, марка троса С70 (ТК-11), по цепности — одноцепная, по типу — промежуточная. Все металлические опоры комплектуются оцинкованными метизами. Заказы отгружаем по всей России и в страны ближнего зарубежья.

    Заполните поля и мы с Вами свяжемся!






    Нажмите «Принять», если вы соглашаетесь с условиями обработки cookie и данных о поведении на сайте, нужных нам для аналитики. Запретить обработку cookie можете через браузер.
    Принять