Металлические опоры ЛЭП Стальные порталы ору Прожекторные мачты и молниеотводы Ростверки и металлические балки Антенные опоры и башни релейной связи Металлоконструкции различного назначения
35 кВ 110 кВ 220 кВ 330кВ 400 кВ 500 кВ 750 кВ
Анкерно-угловые Концевые Переходные Промежуточные

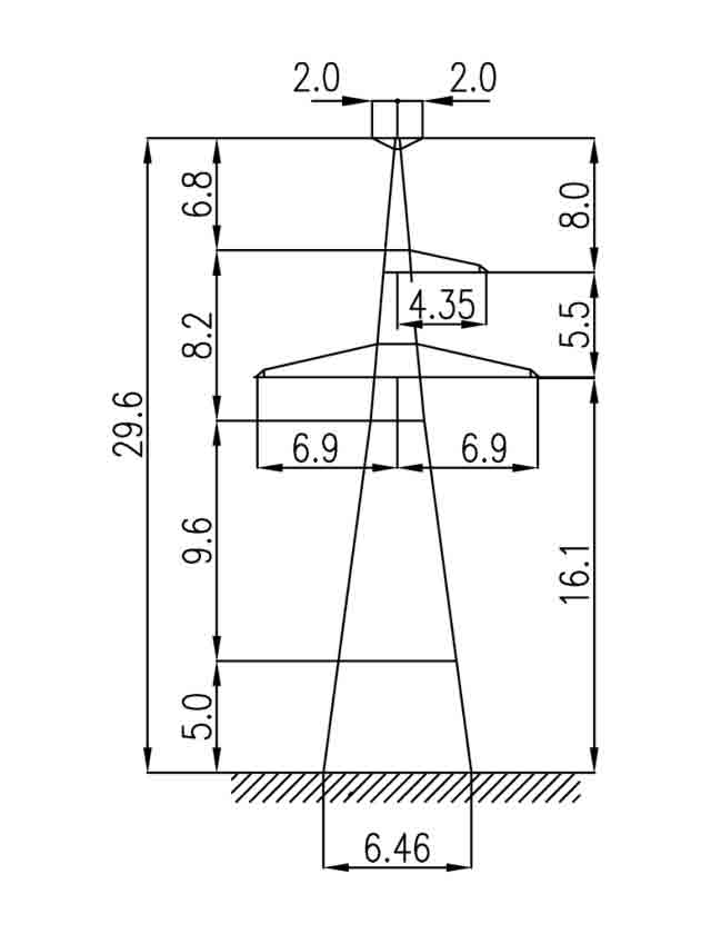
1У220-3Т+5

Шифр опоры 1У220-3Т+5
Тип опоры Анкерно-угловая
Цепность Одноцепная
Марка троса С70 (ТК-11)
Марка проводов АС400/51
№ чертежа монтажной схемы 3.407.2-145.3 09 КМ, СЗО ЭСП
Масса опоры по черт. КМ без цинка в кг 11484
Масса опоры по черт. КМ с цинком в кг 11914

Цены на опоры 1У220-3Т+5 в Алма-ате могут различаться, в зависимости от марки стали металлоконструкций и антикоррозийного покрытия. Масс опоры с горячим цинковым покрытием 11914 кг, масса опоры без антикоррозийного покрытия 11484 кг. Марка троса С70 (ТК-11), марка проводов АС400/51. По типу опора — анкерно-угловая, по цепности — одноцепная. Опора 1У220-3Т+5 изготавливается по типовому проекту 3.407.2-145.3 09 КМ, СЗО ЭСП. Вся продукция комплектуется оцинкованными метизами.

    Заполните поля и мы с Вами свяжемся!






    Нажмите «Принять», если вы соглашаетесь с условиями обработки cookie и данных о поведении на сайте, нужных нам для аналитики. Запретить обработку cookie можете через браузер.
    Принять