Металлические опоры ЛЭП Стальные порталы ору Прожекторные мачты и молниеотводы Ростверки и металлические балки Антенные опоры и башни релейной связи Металлоконструкции различного назначения
35 кВ 110 кВ 220 кВ 330кВ 400 кВ 500 кВ 750 кВ
Анкерно-угловые Концевые Переходные Промежуточные

1У220-3+5

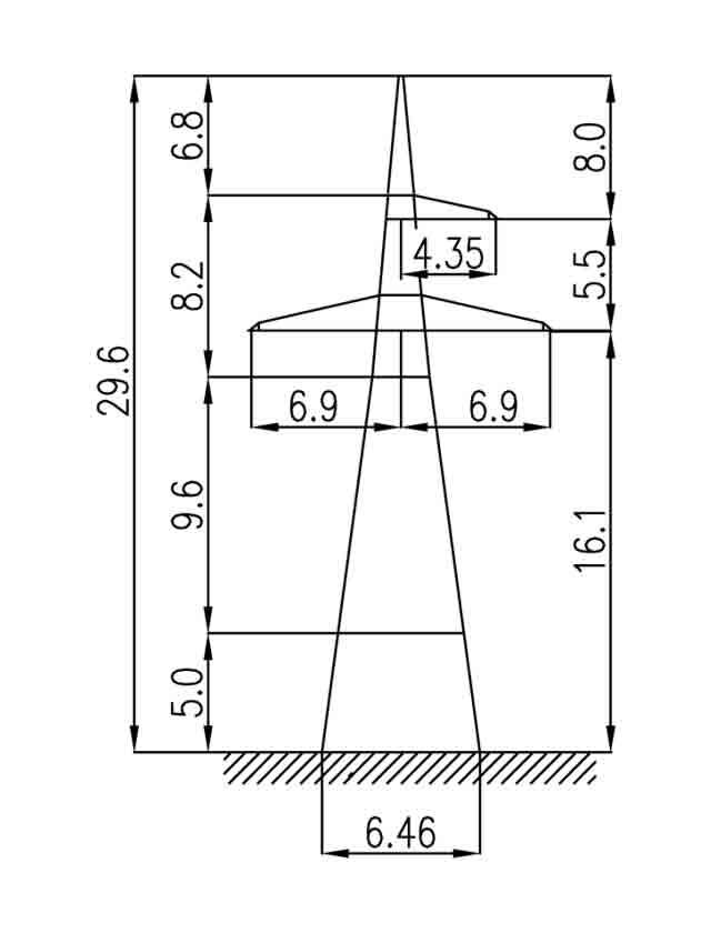
Шифр опоры 1У220-3+5
Тип опоры Анкерно-угловая
Цепность Одноцепная
Марка проводов АС400/51
Марка троса С70 (ТК-11)
№ чертежа монтажной схемы 3.407.2-145.3 09 КМ, СЗО ЭСП
Масса опоры по черт. КМ без цинка в кг 10832
Масса опоры по черт. КМ с цинком в кг 11238

Цены на опоры 1У220-3+5 в Алма-ате могут различаться, в зависимости от марки стали металлоконструкций и антикоррозийного покрытия. Масса опоры без покрытия 10832 кг, масса опоры с покрытием методом горячего цинкования 11238 кг. По типу опора — анкерно-угловая, по цепности — одноцепная. Марка проводов АС400/51, марка торса С70 (ТК-11). Опора 1У220-3+5 изготавливается по типовому проекту 3.407.2-145.3 09 КМ, СЗО ЭСП. Все заказы комплектуются оцинкованными метизами и отгружаются во все регионы России и в страны ближнего зарубежья.

    Заполните поля и мы с Вами свяжемся!






    Нажмите «Принять», если вы соглашаетесь с условиями обработки cookie и данных о поведении на сайте, нужных нам для аналитики. Запретить обработку cookie можете через браузер.
    Принять