Металлические опоры ЛЭП Стальные порталы ору Прожекторные мачты и молниеотводы Ростверки и металлические балки Антенные опоры и башни релейной связи Металлоконструкции различного назначения
35 кВ 110 кВ 220 кВ 330кВ 400 кВ 500 кВ 750 кВ
Анкерно-угловые Концевые Переходные Промежуточные

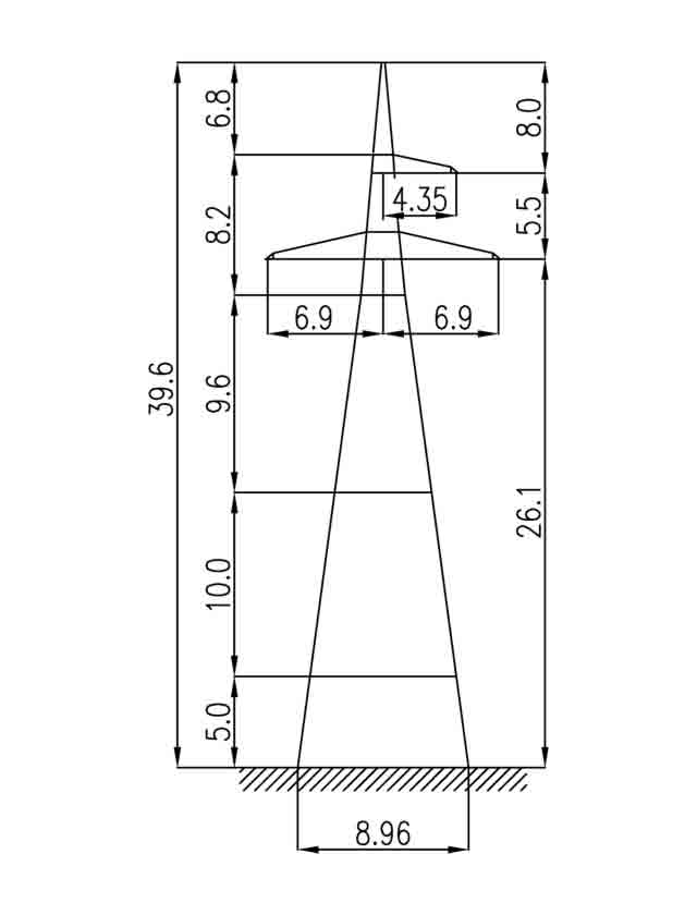
1У220-3+15

Шифр опоры 1У220-3+15
Тип опоры Анкерно-угловая
Цепность Одноцепная
Марка проводов АС400/51
Марка троса С70 (ТК-11)
№ чертежа монтажной схемы 3.407.2-145.3 09 КМ, СЗО ЭСП
Масса опоры по черт. КМ без цинка в кг 16805
Масса опоры по черт. КМ с цинком в кг 17440

Цены на опоры 1У220-3+15 в Алма-ате могут различаться, в зависимости от марки стали металлоконструкций и антикоррозийного покрытия. Вес опоры без антикоррозийного покрытия 16805 кг, вес с горячим цинковым покрытием 17440 кг. Опора 1У220-3+15 изготавливается по чертежной монтажной схеме № 3.407.2-145.3 09 КМ, СЗО ЭСП. Марка троса С70 (ТК-11), марка проводов АС400/51. По типу опора — анкерно-угловая, по цепности — одноцепная. Все заказы комплектуем оцинкованными метизами и производим доставку во все регионы РФ и в страны ближнего зарубежья.

    Заполните поля и мы с Вами свяжемся!






    Нажмите «Принять», если вы соглашаетесь с условиями обработки cookie и данных о поведении на сайте, нужных нам для аналитики. Запретить обработку cookie можете через браузер.
    Принять