Металлические опоры ЛЭП Стальные порталы ору Прожекторные мачты и молниеотводы Ростверки и металлические балки Антенные опоры и башни релейной связи Металлоконструкции различного назначения
35 кВ 110 кВ 220 кВ 330кВ 400 кВ 500 кВ 750 кВ
Анкерно-угловые Концевые Переходные Промежуточные

1У220-2+5

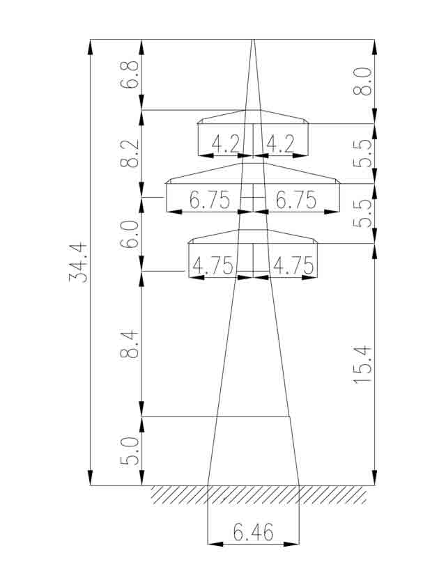
Шифр опоры 1У220-2+5
Тип опоры Анкерно-угловая
Цепность Двухцепная
Марка проводов АС240/32
Марка троса С70 (ТК-11)
№ чертежа монтажной схемы 3.407.2-145.3 05 КМ, СЗО ЭСП
Масса опоры по черт. КМ без цинка в кг 13092
Масса опоры по черт. КМ с цинком в кг 13576

Цены на опоры 1У220-2+5 в Алма-ате могут различаться, в зависимости от марки стали металлоконструкций и антикоррозийного покрытия. Масса опоры по чертежной монтажной схеме № 3.407.2-145.3 05 КМ, СЗО ЭСП без антикоррозийного покрытия 13092 кг, масса опоры с горячим цинковым покрытием 13576 кг. Опора 1У220-2+5 по типу — анкерно-угловая, по цепности — двухцепная. Марка проводов АС240/32, марка троса С70 (ТК-11).

    Заполните поля и мы с Вами свяжемся!






    Нажмите «Принять», если вы соглашаетесь с условиями обработки cookie и данных о поведении на сайте, нужных нам для аналитики. Запретить обработку cookie можете через браузер.
    Принять