Металлические опоры ЛЭП Стальные порталы ору Прожекторные мачты и молниеотводы Ростверки и металлические балки Антенные опоры и башни релейной связи Металлоконструкции различного назначения
35 кВ 110 кВ 220 кВ 330кВ 400 кВ 500 кВ 750 кВ
Анкерно-угловые Концевые Переходные Промежуточные

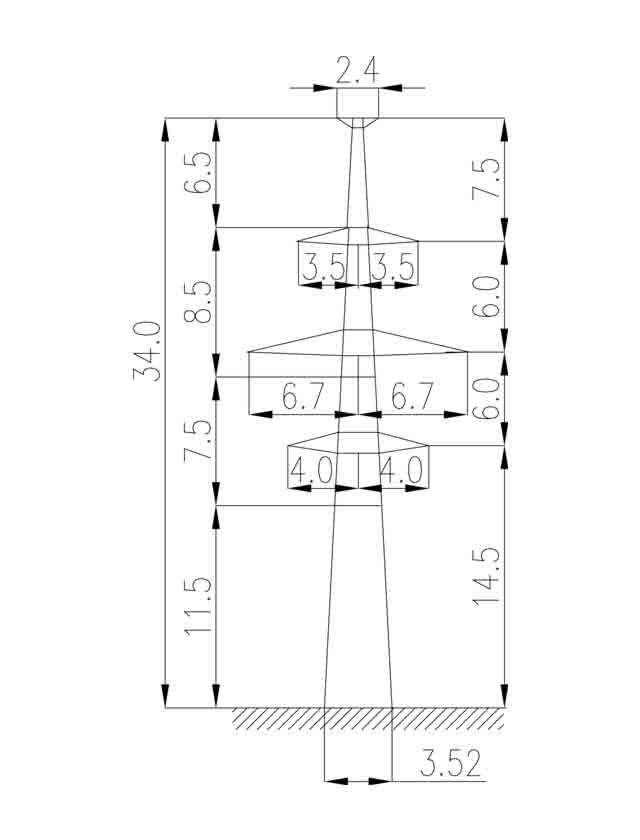
1П220-2Т-11.5

Шифр опоры 1П220-2Т-11.5
Тип опоры Промежуточная
Цепность Двухцепная
Марка проводов АС240/32
Марка троса С70 (ТК-11)
№ чертежа монтажной схемы 3.407.2-145.1 09КМ, СЗО ЭСП
Масса опоры по черт. КМ без цинка в кг 4013
Масса опоры по черт. КМ с цинком в кг 4170

Цены на опоры 1П220-2Т-11.5 в Алма-ате могут различаться, в зависимости от марки стали металлоконструкций и антикоррозийного покрытия. Вес опоры 1П220-2Т-11.5 без покрытия 4013 кг, с покрытием методом горячего цинкования 4170 кг. Тип опоры — промежуточная, по цепности — двухцепная, марка проводов АС240/32, марка троса С70 (ТК-11). Опора 1П220-2Т-11.5 изготавливается по типовому проекту 3.407.2-145.1 09КМ, СЗО ЭСП. Все металлические опоры комплектуются оцинкованными метизами. Заказы доставляем во все уголки нашей страны и в страны ближнего зарубежья.

    Заполните поля и мы с Вами свяжемся!






    Нажмите «Принять», если вы соглашаетесь с условиями обработки cookie и данных о поведении на сайте, нужных нам для аналитики. Запретить обработку cookie можете через браузер.
    Принять