Металлические опоры ЛЭП Стальные порталы ору Прожекторные мачты и молниеотводы Ростверки и металлические балки Антенные опоры и башни релейной связи Металлоконструкции различного назначения
35 кВ 110 кВ 220 кВ 330кВ 400 кВ 500 кВ 750 кВ
Анкерно-угловые Концевые Переходные Промежуточные

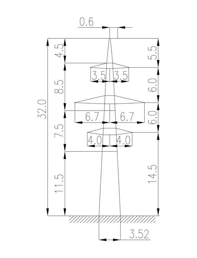
1П220-2-11.5

Шифр опоры 1П220-2-11.5
Тип опоры Промежуточная
Цепность Двухцепная
Марка троса C70 (ТК-11)
Марка проводов АС-340/32
№ чертежа монтажной схемы 3.407.2-145.1 09КМ, СЗО ЭСП
Масса опоры по черт. КМ без цинка в кг 3867
Масса опоры по черт. КМ с цинком в кг 4018

Цены на опоры 1П220-2-11.5 в Алма-ате могут различаться, в зависимости от марки стали металлоконструкций и антикоррозийного покрытия. Вес опоры без цинкового покрытия 3867 кг, с цинковым покрытием 4018 кг. Опора 1П220-2-11.5 изготавливается по типовому проекту 3.407.2-145.1 09КМ, СЗО ЭСП, по цепности — двухцепная, по типу — промежуточная. Марка троса C70 (ТК-11), марка проводов АС-340/32. Все металлические опоры комплектуются оцинкованными метизами. Заказы отправляем по всей территории РФ, а также во все страны ближнего зарубежья.

    Заполните поля и мы с Вами свяжемся!






    Нажмите «Принять», если вы соглашаетесь с условиями обработки cookie и данных о поведении на сайте, нужных нам для аналитики. Запретить обработку cookie можете через браузер.
    Принять