Металлические опоры ЛЭП Стальные порталы ору Прожекторные мачты и молниеотводы Ростверки и металлические балки Антенные опоры и башни релейной связи Металлоконструкции различного назначения
35 кВ 110 кВ 150 кВ 220 кВ 330 кВ 500 кВ
шинный ячейковый

Шинный: изготавливаются по типовому проекту 3.407.2-162 выпуск 1, 2 — для районов в Алма-ате

Ячейковый: изготавливаются по типовому проекту 3.407.2-162 выпуск 1, 2. Траверса и стойки производятся из углового металлопроката в виде сварных решетчатых конструкций с поперечным сечением 500 х 500 мм.

Марка портала Для районов Число стоек Высота до траверсы, м Масса, кг Проект
ПС-35 ШС Северных 2 6.1 768 3.407.2-162 выпуск 2
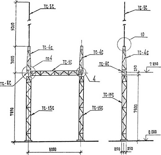
ПС-35 Я1С Обычных 2 7.85 1076
ПС-35 Я2 Обычных 2 7.85 1221
ПС-35 Я2С Обычных 2 7.85 1221
ПС-35 Я3 Обычных 2 7.85 1331
ПС-35 Я3С Обычных 2 7.85 1331
ПС-35 Я4 Обычных 3 7.85 2092
ПС-35 Я4С Обычных 3 7.85 2092
ПС-35 Я5 Обычных 3 7.85 2092
ПС-35 Я5С Обычных 3 7.85 2092
ПС-35Ш Обычных 2 6.1 768 3.407.2-162 выпуск 1
ПС-35Я1 Обычных 2 7.85 1076

Число стоек: 2

Высота до траверсы, м: 6.1

Масса, кг: 768

Элемент опоры 1: Траверса ТС-1, 1шт

Элемент опоры 2: Траверса ТС-1, 2шт

Элемент опоры 3: Траверса ТС-1

Элемент опоры 4: Траверса ТС-1

Элемент опоры 5: Траверса ТС-1

Для районов: Северных

Проект: 3.407.2-162 выпуск 2

Число стоек: 2

Высота до траверсы, м: 7.85

Масса, кг: 1076

Элемент опоры 1: Траверса ТС-1С, 1шт

Элемент опоры 2: Стойка ТС-15С, 2шт

Элемент опоры 3: Траверса ТС-1

Элемент опоры 4: Траверса ТС-1

Элемент опоры 5: Траверса ТС-1

Для районов: Обычных

Проект:

Число стоек: 2

Высота до траверсы, м: 7.85

Масса, кг: 1221

Элемент опоры 1: Траверса ТС-1, 1шт

Элемент опоры 2: Тросостойка ТС-4, 1шт

Элемент опоры 3: Молниеотвод ТС-5, 1шт

Элемент опоры 4: Доборный элемент ТС-6, 1шт

Элемент опоры 5: Стойка ТС-15, 2шт

Для районов: Обычных

Проект:

Число стоек: 2

Высота до траверсы, м: 7.85

Масса, кг: 1221

Элемент опоры 1: Траверса ТС-1С, 1шт

Элемент опоры 2: Тросостойка ТС-4С, 1шт

Элемент опоры 3: Молниеотвод ТС-5С, 1шт

Элемент опоры 4: Доборный элемент ТС-6, 1шт

Элемент опоры 5: Стойка ТС-15С, 2шт

Для районов: Обычных

Проект:

Число стоек: 2

Высота до траверсы, м: 7.85

Масса, кг: 1331

Элемент опоры 1: Траверса ТС-1, 1шт

Элемент опоры 2: Тросостойка ТС-4, 2шт

Элемент опоры 3: Молниеотвод ТС-5, 1шт

Элемент опоры 4: Доборный элемент ТС-6, 2шт

Элемент опоры 5: Стойка ТС-15, 2шт

Для районов: Обычных

Проект:

Число стоек: 2

Высота до траверсы, м: 7.85

Масса, кг: 1331

Элемент опоры 1: Траверса ТС-1С, 1шт

Элемент опоры 2: Тросостойка ТС-4С, 2шт

Элемент опоры 3: Молниеотвод ТС-5С, 1шт

Элемент опоры 4: Доборный элемент ТС-6, 2шт

Элемент опоры 5: Стойка ТС-15С, 2шт

Для районов: Обычных

Проект:

Число стоек: 3

Высота до траверсы, м: 7.85

Масса, кг: 2092

Элемент опоры 1: Траверса ТС-1, 2шт

Элемент опоры 2: Тросостойка ТС-4, 3шт

Элемент опоры 3: Молниеотвод ТС-5, 1шт

Элемент опоры 4: Доборный элемент ТС-6, 2шт

Элемент опоры 5: Стойка ТС-15, 3шт

Для районов: Обычных

Проект:

Число стоек: 3

Высота до траверсы, м: 7.85

Масса, кг: 2092

Элемент опоры 1: Траверса ТС-1С, 2шт

Элемент опоры 2: Тросостойка ТС-4С, 3шт

Элемент опоры 3: Молниеотвод ТС-5С, 1шт

Элемент опоры 4: Доборный элемент ТС-6С, 2шт

Элемент опоры 5: Стойка ТС-15С, 3шт

Для районов: Обычных

Проект:

Число стоек: 3

Высота до траверсы, м: 7.85

Масса, кг: 2092

Элемент опоры 1: Траверса ТС-1, 2шт

Элемент опоры 2: Тросостойка ТС-4, 3шт

Элемент опоры 3: Молниеотвод ТС-5, 1шт

Элемент опоры 4: Доборный элемент ТС-6, 2шт

Элемент опоры 5: Стойка ТС-15, 3шт

Для районов: Обычных

Проект:

Число стоек: 3

Высота до траверсы, м: 7.85

Масса, кг: 2092

Элемент опоры 1: Траверса ТС-1С, 2шт

Элемент опоры 2: Тросостойка ТС-4С, 3шт

Элемент опоры 3: Молниеотвод ТС-5С, 1шт

Элемент опоры 4: Доборный элемент ТС-6С, 2шт

Элемент опоры 5: Стойка ТС-15С, 3шт

Для районов: Обычных

Проект:

Число стоек: 2

Высота до траверсы, м: 6.1

Масса, кг: 768

Элемент опоры 1: Траверса ТС-1, 1шт

Элемент опоры 2: Траверса ТС-1, 2шт

Элемент опоры 3: Траверса ТС-1

Элемент опоры 4: Траверса ТС-1

Элемент опоры 5: Траверса ТС-1

Для районов: Обычных

Проект: 3.407.2-162 выпуск 1

Число стоек: 2

Высота до траверсы, м: 7.85

Масса, кг: 1076

Элемент опоры 1: Траверса ТС-1, 1шт

Элемент опоры 2: Стойка ТС-15, 2шт

Элемент опоры 3: Траверса ТС-1

Элемент опоры 4: Траверса ТС-1

Элемент опоры 5: Траверса ТС-1

Для районов: Обычных

Проект:

35 кВ

Изготавливаются по типовому проекту 3.407.2-162 выпуск 1, 2 — для северных районов.

Изготавливаются по типовому проекту 3.407.2-162 выпуск 1, 2. Траверса и стойки производятся из углового металлопроката в виде сварных решетчатых конструкций с поперечным сечением 500 х 500 мм.

110 кВ

Изготавливаются по типовому проекту 3.407.2-162 выпуск 1, 2 — для северных районов.

Изготавливаются по типовому проекту 3.407.2-162 выпуск 1, 2. Траверса и стойки производятся из углового металлопроката в виде сварных решетчатых конструкций с поперечным сечением 500 х 500 мм.

150 кВ

Изготавливаются по типовому проекту 3.407.2-162 выпуск 1, 2. Траверса и стойки (узкобазные) производятся из углового металлопроката в виде сварных решетчатых конструкций с поперечным сечением 500 х 500 мм.

Изготавливаются по типовому проекту 3.407.2-162 выпуск 1, 2. Порталы изготовлены на широкобазных стойках, устанавливаются на четыре фундамента, являются комбинированные.

220 кВ

Изготавливается по типовому проекту 3.407.9-149 выпуск 2. Траверса и стойки (узкобазные) производятся из углового металлопроката в виде сварных решетчатых конструкций.

Изготавливаются по типовому проекту 3.407.9-149 выпуск 2. Траверса и стойки (узкобазные) производятся из углового металлопроката в виде болтового соединения решетчатых конструкций.

330 кВ

Изготавливается по типовому проекту 3.407.9-149 выпуск 2. Траверса и стойки (узкобазные) производятся из углового металлопроката в виде болтового соединения решетчатых конструкций.

Изготавливается по типовому проекту 3.407.9-149 выпуск 2. Траверса и стойки (узкобазные) производятся из углового металлопроката в виде болтового соединения решетчатых конструкций.

Изготавливается по типовому проекту 3.407.9-149 выпуск 2. Траверса и стойки (узкобазные) производятся из углового металлопроката в виде болтового соединения решетчатых конструкций.

Изготавливается по типовому проекту 3.407.9-149 выпуск 2. Траверса и стойки (узкобазные) производятся из углового металлопроката в виде болтового соединения решетчатых конструкций в Алма-ате.

500 кВ

Изготавливаются по типовому проекту 3.407.9-149 выпуск 2. Траверса и стойки (узкобазные) производятся из углового металлопроката в виде болтового соединения решетчатых конструкций в Алма-ате.

Изготавливается по типовому проекту 3.407.9-149 выпуск 2. Траверса и стойки (узкобазные) производятся из углового металлопроката в виде болтового соединения решетчатых конструкций.

Изготавливаются по типовому проекту 3.407.9-149 выпуск 2. Траверса и стойки (узкобазные) производятся из углового металлопроката в виде болтового соединения решетчатых конструкций.

    Заполните поля и мы с Вами свяжемся!






    Нажмите «Принять», если вы соглашаетесь с условиями обработки cookie и данных о поведении на сайте, нужных нам для аналитики. Запретить обработку cookie можете через браузер.
    Принять