Металлические опоры ЛЭП Стальные порталы ору Прожекторные мачты и молниеотводы Ростверки и металлические балки Антенные опоры и башни релейной связи Металлоконструкции различного назначения
35 кВ 110 кВ 150 кВ 220 кВ 330 кВ 500 кВ
шинный ячейковый

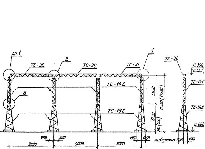
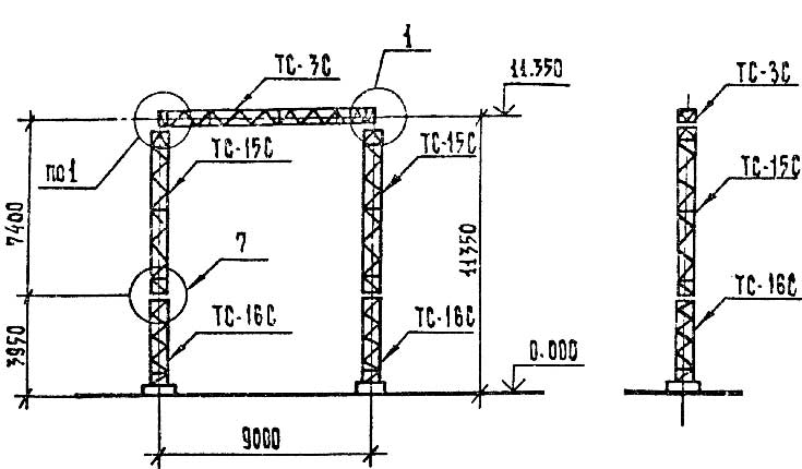
Шинный: изготавливаются по типовому проекту 3.407.2-162 выпуск 1, 2. Траверса и стойки производятся из углового металлопроката в виде сварных решетчатых конструкций с поперечным сечением 500 х 500 мм в Алма-ате.

Ячейковый: изготавливаются по типовому проекту 3.407.2-162 выпуск 1, 2. Порталы стальные легкие (ПСЛ) созданы на узкобазных стойках, устанавливаются на одиночные фундаменты.

Марка портала Для районов Число стоек Высота до траверсы, м Масса, кг Проект
ПС-110 Ш Обычных 2 7.85 1076
ПС-110 ШС Обычных 2 7.85 1076
ПСЛ-110Я1 Обычных 2 11.35 1781
ПСЛ-110Я10 Обычных 6 11.35 6502
ПСЛ-110Я10С Обычных 6 11.35 6171
ПСЛ-110Я11 Обычных 6 11.35 6533
ПСЛ-110Я11С Обычных 6 11.35 6201
ПСЛ-110Я12 Обычных 4 11.35 4080
ПСЛ-110Я12С Обычных 4 11.35 3871
ПСЛ-110Я1С Обычных 2 11.35 1691
ПСЛ-110Я2 Обычных 2 11.35 1926
ПСЛ-110Я2С Обычных 2 11.35 1833
ПСЛ-110Я3 Обычных 2 11.35 2036
ПСЛ-110Я3С Обычных 2 11.35 1941
ПСЛ-110Я4 Обычных 3 11.35 3236
ПСЛ-110Я4С Обычных 3 11.35 3080
ПСЛ-110Я5 Обычных 4 11.35 4225
ПСЛ-110Я5С Обычных 4 11.35 4013
ПСЛ-110Я6 Обычных 4 11.35 3935
ПСЛ-110Я6С Обычных 4 11.35 3729
ПСЛ-110Я7 Обычных 4 11.35 4401
ПСЛ-110Я7С Обычных 4 11.35 4185
ПСЛ-110Я8 Обычных 5 11.35 5566
ПСЛ-110Я8С Обычных 5 11.35 5290
ПСЛ-110Я9 Обычных 6 11.35 6766
ПСЛ-110Я9С Обычных 6 11.35 6429
ПСТ-110Я1 Обычных 2 11.35 2263
ПСТ-110Я10 Обычных 6 11.35 7948
ПСТ-110Я10С Обычных 6 11.35 7197
ПСТ-110Я11 Обычных 6 11.35 7979
ПСТ-110Я11С Обычных 6 11.35 7227
ПСТ-110Я12 Обычных 4 11.35 5044
ПСТ-110Я12С Обычных 4 11.35 4555
ПСТ-110Я1С Обычных 2 11.35 3871
ПСТ-110Я2 Обычных 2 11.35 2408
ПСТ-110Я2С Обычных 2 11.35 2175
ПСТ-110Я3 Обычных 2 11.35 2518
ПСТ-110Я3С Обычных 2 11.35 2283
ПСТ-110Я4 Обычных 3 11.35 3959
ПСТ-110Я4С Обычных 3 11.35 3593
ПСТ-110Я5 Обычных 4 11.35 5189
ПСТ-110Я5С Обычных 4 11.35 4697
ПСТ-110Я6 Обычных 4 11.35 4899
ПСТ-110Я6С Обычных 4 11.35 4413
ПСТ-110Я7 Обычных 4 11.35 5365
ПСТ-110Я7С Обычных 4 11.35 4869
ПСТ-110Я8 Обычных 5 11.35 6771
ПСТ-110Я8С Обычных 5 11.35 6145
ПСТ-110Я9 Обычных 6 11.35 8212
ПСТ-110Я9С Обычных 6 11.35 7455

Число стоек: 2

Высота до траверсы, м: 7.85

Масса, кг: 1076

Элемент опоры 1: Траверса ТС-1, 1шт

Элемент опоры 2: Стойка ТС-15, 2шт

Элемент опоры 3: Траверса ТС-1

Элемент опоры 4: Траверса ТС-1

Элемент опоры 5: Траверса ТС-1

Для районов: Обычных

Проект:

Число стоек: 2

Высота до траверсы, м: 7.85

Масса, кг: 1076

Элемент опоры 1: Траверса ТС-1С

Элемент опоры 2: Стойка ТС-15С, 1шт

Элемент опоры 3: Траверса ТС-1, 2шт

Элемент опоры 4: Траверса ТС-1

Элемент опоры 5: Траверса ТС-1

Для районов: Обычных

Проект:

Число стоек: 2

Высота до траверсы, м: 11.35

Масса, кг: 1781

Элемент опоры 1: Траверса ТС-1

Элемент опоры 2: Траверса ТС-1

Элемент опоры 3: Траверса ТС-1

Элемент опоры 4: Траверса ТС-1

Элемент опоры 5: Траверса ТС-1

Для районов: Обычных

Проект:

Число стоек: 6

Высота до траверсы, м: 11.35

Масса, кг: 6502

Элемент опоры 1: Траверса ТС-1

Элемент опоры 2: Траверса ТС-1

Элемент опоры 3: Траверса ТС-1

Элемент опоры 4: Траверса ТС-1

Элемент опоры 5: Траверса ТС-1

Для районов: Обычных

Проект:

Число стоек: 6

Высота до траверсы, м: 11.35

Масса, кг: 6171

Элемент опоры 1: Траверса ТС-1

Элемент опоры 2: Траверса ТС-1

Элемент опоры 3: Траверса ТС-1

Элемент опоры 4: Траверса ТС-1

Элемент опоры 5: Траверса ТС-1

Для районов: Обычных

Проект:

Число стоек: 6

Высота до траверсы, м: 11.35

Масса, кг: 6533

Элемент опоры 1: Траверса ТС-1

Элемент опоры 2: Траверса ТС-1

Элемент опоры 3: Траверса ТС-1

Элемент опоры 4: Траверса ТС-1

Элемент опоры 5: Траверса ТС-1

Для районов: Обычных

Проект:

Число стоек: 6

Высота до траверсы, м: 11.35

Масса, кг: 6201

Элемент опоры 1: Траверса ТС-1

Элемент опоры 2: Траверса ТС-1

Элемент опоры 3: Траверса ТС-1

Элемент опоры 4: Траверса ТС-1

Элемент опоры 5: Траверса ТС-1

Для районов: Обычных

Проект:

Число стоек: 4

Высота до траверсы, м: 11.35

Масса, кг: 4080

Элемент опоры 1: Траверса ТС-1

Элемент опоры 2: Траверса ТС-1

Элемент опоры 3: Траверса ТС-1

Элемент опоры 4: Траверса ТС-1

Элемент опоры 5: Траверса ТС-1

Для районов: Обычных

Проект:

Число стоек: 4

Высота до траверсы, м: 11.35

Масса, кг: 3871

Элемент опоры 1: Траверса ТС-1

Элемент опоры 2: Траверса ТС-1

Элемент опоры 3: Траверса ТС-1

Элемент опоры 4: Траверса ТС-1

Элемент опоры 5: Траверса ТС-1

Для районов: Обычных

Проект:

Число стоек: 2

Высота до траверсы, м: 11.35

Масса, кг: 1691

Элемент опоры 1: Траверса ТС-1

Элемент опоры 2: Траверса ТС-1

Элемент опоры 3: Траверса ТС-1

Элемент опоры 4: Траверса ТС-1

Элемент опоры 5: Траверса ТС-1

Для районов: Обычных

Проект:

Число стоек: 2

Высота до траверсы, м: 11.35

Масса, кг: 1926

Элемент опоры 1: Траверса ТС-1

Элемент опоры 2: Траверса ТС-1

Элемент опоры 3: Траверса ТС-1

Элемент опоры 4: Траверса ТС-1

Элемент опоры 5: Траверса ТС-1

Для районов: Обычных

Проект:

Число стоек: 2

Высота до траверсы, м: 11.35

Масса, кг: 1833

Элемент опоры 1: Траверса ТС-1

Элемент опоры 2: Траверса ТС-1

Элемент опоры 3: Траверса ТС-1

Элемент опоры 4: Траверса ТС-1

Элемент опоры 5: Траверса ТС-1

Для районов: Обычных

Проект:

Число стоек: 2

Высота до траверсы, м: 11.35

Масса, кг: 2036

Элемент опоры 1: Траверса ТС-1

Элемент опоры 2: Траверса ТС-1

Элемент опоры 3: Траверса ТС-1

Элемент опоры 4: Траверса ТС-1

Элемент опоры 5: Траверса ТС-1

Для районов: Обычных

Проект:

Число стоек: 2

Высота до траверсы, м: 11.35

Масса, кг: 1941

Элемент опоры 1: Траверса ТС-1

Элемент опоры 2: Траверса ТС-1

Элемент опоры 3: Траверса ТС-1

Элемент опоры 4: Траверса ТС-1

Элемент опоры 5: Траверса ТС-1

Для районов: Обычных

Проект:

Число стоек: 3

Высота до траверсы, м: 11.35

Масса, кг: 3236

Элемент опоры 1: Траверса ТС-1

Элемент опоры 2: Траверса ТС-1

Элемент опоры 3: Траверса ТС-1

Элемент опоры 4: Траверса ТС-1

Элемент опоры 5: Траверса ТС-1

Для районов: Обычных

Проект:

Число стоек: 3

Высота до траверсы, м: 11.35

Масса, кг: 3080

Элемент опоры 1: Траверса ТС-1

Элемент опоры 2: Траверса ТС-1

Элемент опоры 3: Траверса ТС-1

Элемент опоры 4: Траверса ТС-1

Элемент опоры 5: Траверса ТС-1

Для районов: Обычных

Проект:

Число стоек: 4

Высота до траверсы, м: 11.35

Масса, кг: 4225

Элемент опоры 1: Траверса ТС-1

Элемент опоры 2: Траверса ТС-1

Элемент опоры 3: Траверса ТС-1

Элемент опоры 4: Траверса ТС-1

Элемент опоры 5: Траверса ТС-1

Для районов: Обычных

Проект:

Число стоек: 4

Высота до траверсы, м: 11.35

Масса, кг: 4013

Элемент опоры 1: Траверса ТС-1

Элемент опоры 2: Траверса ТС-1

Элемент опоры 3: Траверса ТС-1

Элемент опоры 4: Траверса ТС-1

Элемент опоры 5: Траверса ТС-1

Для районов: Обычных

Проект:

Число стоек: 4

Высота до траверсы, м: 11.35

Масса, кг: 3935

Элемент опоры 1: Траверса ТС-1

Элемент опоры 2: Траверса ТС-1

Элемент опоры 3: Траверса ТС-1

Элемент опоры 4: Траверса ТС-1

Элемент опоры 5: Траверса ТС-1

Для районов: Обычных

Проект:

Число стоек: 4

Высота до траверсы, м: 11.35

Масса, кг: 3729

Элемент опоры 1: Траверса ТС-1

Элемент опоры 2: Траверса ТС-1

Элемент опоры 3: Траверса ТС-1

Элемент опоры 4: Траверса ТС-1

Элемент опоры 5: Траверса ТС-1

Для районов: Обычных

Проект:

Число стоек: 4

Высота до траверсы, м: 11.35

Масса, кг: 4401

Элемент опоры 1: Траверса ТС-1

Элемент опоры 2: Траверса ТС-1

Элемент опоры 3: Траверса ТС-1

Элемент опоры 4: Траверса ТС-1

Элемент опоры 5: Траверса ТС-1

Для районов: Обычных

Проект:

Число стоек: 4

Высота до траверсы, м: 11.35

Масса, кг: 4185

Элемент опоры 1: Траверса ТС-1

Элемент опоры 2: Траверса ТС-1

Элемент опоры 3: Траверса ТС-1

Элемент опоры 4: Траверса ТС-1

Элемент опоры 5: Траверса ТС-1

Для районов: Обычных

Проект:

Число стоек: 5

Высота до траверсы, м: 11.35

Масса, кг: 5566

Элемент опоры 1: Траверса ТС-1

Элемент опоры 2: Траверса ТС-1

Элемент опоры 3: Траверса ТС-1

Элемент опоры 4: Траверса ТС-1

Элемент опоры 5: Траверса ТС-1

Для районов: Обычных

Проект:

Число стоек: 5

Высота до траверсы, м: 11.35

Масса, кг: 5290

Элемент опоры 1: Траверса ТС-1

Элемент опоры 2: Траверса ТС-1

Элемент опоры 3: Траверса ТС-1

Элемент опоры 4: Траверса ТС-1

Элемент опоры 5: Траверса ТС-1

Для районов: Обычных

Проект:

Число стоек: 6

Высота до траверсы, м: 11.35

Масса, кг: 6766

Элемент опоры 1: Траверса ТС-1

Элемент опоры 2: Траверса ТС-1

Элемент опоры 3: Траверса ТС-1

Элемент опоры 4: Траверса ТС-1

Элемент опоры 5: Траверса ТС-1

Для районов: Обычных

Проект:

Число стоек: 6

Высота до траверсы, м: 11.35

Масса, кг: 6429

Элемент опоры 1: Траверса ТС-1

Элемент опоры 2: Траверса ТС-1

Элемент опоры 3: Траверса ТС-1

Элемент опоры 4: Траверса ТС-1

Элемент опоры 5: Траверса ТС-1

Для районов: Обычных

Проект:

Число стоек: 2

Высота до траверсы, м: 11.35

Масса, кг: 2263

Элемент опоры 1: Траверса ТС-1

Элемент опоры 2: Траверса ТС-1

Элемент опоры 3: Траверса ТС-1

Элемент опоры 4: Траверса ТС-1

Элемент опоры 5: Траверса ТС-1

Для районов: Обычных

Проект:

Число стоек: 6

Высота до траверсы, м: 11.35

Масса, кг: 7948

Элемент опоры 1: Траверса ТС-1

Элемент опоры 2: Траверса ТС-1

Элемент опоры 3: Траверса ТС-1

Элемент опоры 4: Траверса ТС-1

Элемент опоры 5: Траверса ТС-1

Для районов: Обычных

Проект:

Число стоек: 6

Высота до траверсы, м: 11.35

Масса, кг: 7197

Элемент опоры 1: Траверса ТС-1

Элемент опоры 2: Траверса ТС-1

Элемент опоры 3: Траверса ТС-1

Элемент опоры 4: Траверса ТС-1

Элемент опоры 5: Траверса ТС-1

Для районов: Обычных

Проект:

Число стоек: 6

Высота до траверсы, м: 11.35

Масса, кг: 7979

Элемент опоры 1: Траверса ТС-1

Элемент опоры 2: Траверса ТС-1

Элемент опоры 3: Траверса ТС-1

Элемент опоры 4: Траверса ТС-1

Элемент опоры 5: Траверса ТС-1

Для районов: Обычных

Проект:

Число стоек: 6

Высота до траверсы, м: 11.35

Масса, кг: 7227

Элемент опоры 1: Траверса ТС-1

Элемент опоры 2: Траверса ТС-1

Элемент опоры 3: Траверса ТС-1

Элемент опоры 4: Траверса ТС-1

Элемент опоры 5: Траверса ТС-1

Для районов: Обычных

Проект:

Число стоек: 4

Высота до траверсы, м: 11.35

Масса, кг: 5044

Элемент опоры 1: Траверса ТС-1

Элемент опоры 2: Траверса ТС-1

Элемент опоры 3: Траверса ТС-1

Элемент опоры 4: Траверса ТС-1

Элемент опоры 5: Траверса ТС-1

Для районов: Обычных

Проект:

Число стоек: 4

Высота до траверсы, м: 11.35

Масса, кг: 4555

Элемент опоры 1: Траверса ТС-1

Элемент опоры 2: Траверса ТС-1

Элемент опоры 3: Траверса ТС-1

Элемент опоры 4: Траверса ТС-1

Элемент опоры 5: Траверса ТС-1

Для районов: Обычных

Проект:

Число стоек: 2

Высота до траверсы, м: 11.35

Масса, кг: 3871

Элемент опоры 1: Траверса ТС-1

Элемент опоры 2: Траверса ТС-1

Элемент опоры 3: Траверса ТС-1

Элемент опоры 4: Траверса ТС-1

Элемент опоры 5: Траверса ТС-1

Для районов: Обычных

Проект:

Число стоек: 2

Высота до траверсы, м: 11.35

Масса, кг: 2408

Элемент опоры 1: Траверса ТС-1

Элемент опоры 2: Траверса ТС-1

Элемент опоры 3: Траверса ТС-1

Элемент опоры 4: Траверса ТС-1

Элемент опоры 5: Траверса ТС-1

Для районов: Обычных

Проект:

Число стоек: 2

Высота до траверсы, м: 11.35

Масса, кг: 2175

Элемент опоры 1: Траверса ТС-1

Элемент опоры 2: Траверса ТС-1

Элемент опоры 3: Траверса ТС-1

Элемент опоры 4: Траверса ТС-1

Элемент опоры 5: Траверса ТС-1

Для районов: Обычных

Проект:

Число стоек: 2

Высота до траверсы, м: 11.35

Масса, кг: 2518

Элемент опоры 1: Траверса ТС-1

Элемент опоры 2: Траверса ТС-1

Элемент опоры 3: Траверса ТС-1

Элемент опоры 4: Траверса ТС-1

Элемент опоры 5: Траверса ТС-1

Для районов: Обычных

Проект:

Число стоек: 2

Высота до траверсы, м: 11.35

Масса, кг: 2283

Элемент опоры 1: Траверса ТС-1

Элемент опоры 2: Траверса ТС-1

Элемент опоры 3: Траверса ТС-1

Элемент опоры 4: Траверса ТС-1

Элемент опоры 5: Траверса ТС-1

Для районов: Обычных

Проект:

Число стоек: 3

Высота до траверсы, м: 11.35

Масса, кг: 3959

Элемент опоры 1: Траверса ТС-1

Элемент опоры 2: Траверса ТС-1

Элемент опоры 3: Траверса ТС-1

Элемент опоры 4: Траверса ТС-1

Элемент опоры 5: Траверса ТС-1

Для районов: Обычных

Проект:

Число стоек: 3

Высота до траверсы, м: 11.35

Масса, кг: 3593

Элемент опоры 1: Траверса ТС-1

Элемент опоры 2: Траверса ТС-1

Элемент опоры 3: Траверса ТС-1

Элемент опоры 4: Траверса ТС-1

Элемент опоры 5: Траверса ТС-1

Для районов: Обычных

Проект:

Число стоек: 4

Высота до траверсы, м: 11.35

Масса, кг: 5189

Элемент опоры 1: Траверса ТС-1

Элемент опоры 2: Траверса ТС-1

Элемент опоры 3: Траверса ТС-1

Элемент опоры 4: Траверса ТС-1

Элемент опоры 5: Траверса ТС-1

Для районов: Обычных

Проект:

Число стоек: 4

Высота до траверсы, м: 11.35

Масса, кг: 4697

Элемент опоры 1: Траверса ТС-1

Элемент опоры 2: Траверса ТС-1

Элемент опоры 3: Траверса ТС-1

Элемент опоры 4: Траверса ТС-1

Элемент опоры 5: Траверса ТС-1

Для районов: Обычных

Проект:

Число стоек: 4

Высота до траверсы, м: 11.35

Масса, кг: 4899

Элемент опоры 1: Траверса ТС-1

Элемент опоры 2: Траверса ТС-1

Элемент опоры 3: Траверса ТС-1

Элемент опоры 4: Траверса ТС-1

Элемент опоры 5: Траверса ТС-1

Для районов: Обычных

Проект:

Число стоек: 4

Высота до траверсы, м: 11.35

Масса, кг: 4413

Элемент опоры 1: Траверса ТС-1

Элемент опоры 2: Траверса ТС-1

Элемент опоры 3: Траверса ТС-1

Элемент опоры 4: Траверса ТС-1

Элемент опоры 5: Траверса ТС-1

Для районов: Обычных

Проект:

Число стоек: 4

Высота до траверсы, м: 11.35

Масса, кг: 5365

Элемент опоры 1: Траверса ТС-1

Элемент опоры 2: Траверса ТС-1

Элемент опоры 3: Траверса ТС-1

Элемент опоры 4: Траверса ТС-1

Элемент опоры 5: Траверса ТС-1

Для районов: Обычных

Проект:

Число стоек: 4

Высота до траверсы, м: 11.35

Масса, кг: 4869

Элемент опоры 1: Траверса ТС-1

Элемент опоры 2: Траверса ТС-1

Элемент опоры 3: Траверса ТС-1

Элемент опоры 4: Траверса ТС-1

Элемент опоры 5: Траверса ТС-1

Для районов: Обычных

Проект:

Число стоек: 5

Высота до траверсы, м: 11.35

Масса, кг: 6771

Элемент опоры 1: Траверса ТС-1

Элемент опоры 2: Траверса ТС-1

Элемент опоры 3: Траверса ТС-1

Элемент опоры 4: Траверса ТС-1

Элемент опоры 5: Траверса ТС-1

Для районов: Обычных

Проект:

Число стоек: 5

Высота до траверсы, м: 11.35

Масса, кг: 6145

Элемент опоры 1: Траверса ТС-1

Элемент опоры 2: Траверса ТС-1

Элемент опоры 3: Траверса ТС-1

Элемент опоры 4: Траверса ТС-1

Элемент опоры 5: Траверса ТС-1

Для районов: Обычных

Проект:

Число стоек: 6

Высота до траверсы, м: 11.35

Масса, кг: 8212

Элемент опоры 1: Траверса ТС-1

Элемент опоры 2: Траверса ТС-1

Элемент опоры 3: Траверса ТС-1

Элемент опоры 4: Траверса ТС-1

Элемент опоры 5: Траверса ТС-1

Для районов: Обычных

Проект:

Число стоек: 6

Высота до траверсы, м: 11.35

Масса, кг: 7455

Элемент опоры 1: Траверса ТС-1

Элемент опоры 2: Траверса ТС-1

Элемент опоры 3: Траверса ТС-1

Элемент опоры 4: Траверса ТС-1

Элемент опоры 5: Траверса ТС-1

Для районов: Обычных

Проект:

35 кВ

Изготавливаются по типовому проекту 3.407.2-162 выпуск 1, 2 — для северных районов.

Изготавливаются по типовому проекту 3.407.2-162 выпуск 1, 2. Траверса и стойки производятся из углового металлопроката в виде сварных решетчатых конструкций с поперечным сечением 500 х 500 мм.

110 кВ

Изготавливаются по типовому проекту 3.407.2-162 выпуск 1, 2 — для северных районов.

Изготавливаются по типовому проекту 3.407.2-162 выпуск 1, 2. Траверса и стойки производятся из углового металлопроката в виде сварных решетчатых конструкций с поперечным сечением 500 х 500 мм.

150 кВ

Изготавливаются по типовому проекту 3.407.2-162 выпуск 1, 2. Траверса и стойки (узкобазные) производятся из углового металлопроката в виде сварных решетчатых конструкций с поперечным сечением 500 х 500 мм.

Изготавливаются по типовому проекту 3.407.2-162 выпуск 1, 2. Порталы изготовлены на широкобазных стойках, устанавливаются на четыре фундамента, являются комбинированные.

220 кВ

Изготавливается по типовому проекту 3.407.9-149 выпуск 2. Траверса и стойки (узкобазные) производятся из углового металлопроката в виде сварных решетчатых конструкций.

Изготавливаются по типовому проекту 3.407.9-149 выпуск 2. Траверса и стойки (узкобазные) производятся из углового металлопроката в виде болтового соединения решетчатых конструкций.

330 кВ

Изготавливается по типовому проекту 3.407.9-149 выпуск 2. Траверса и стойки (узкобазные) производятся из углового металлопроката в виде болтового соединения решетчатых конструкций.

Изготавливается по типовому проекту 3.407.9-149 выпуск 2. Траверса и стойки (узкобазные) производятся из углового металлопроката в виде болтового соединения решетчатых конструкций.

Изготавливается по типовому проекту 3.407.9-149 выпуск 2. Траверса и стойки (узкобазные) производятся из углового металлопроката в виде болтового соединения решетчатых конструкций.

Изготавливается по типовому проекту 3.407.9-149 выпуск 2. Траверса и стойки (узкобазные) производятся из углового металлопроката в виде болтового соединения решетчатых конструкций в Алма-ате.

500 кВ

Изготавливаются по типовому проекту 3.407.9-149 выпуск 2. Траверса и стойки (узкобазные) производятся из углового металлопроката в виде болтового соединения решетчатых конструкций в Алма-ате.

Изготавливается по типовому проекту 3.407.9-149 выпуск 2. Траверса и стойки (узкобазные) производятся из углового металлопроката в виде болтового соединения решетчатых конструкций.

Изготавливаются по типовому проекту 3.407.9-149 выпуск 2. Траверса и стойки (узкобазные) производятся из углового металлопроката в виде болтового соединения решетчатых конструкций.

    Заполните поля и мы с Вами свяжемся!






    Нажмите «Принять», если вы соглашаетесь с условиями обработки cookie и данных о поведении на сайте, нужных нам для аналитики. Запретить обработку cookie можете через браузер.
    Принять